Dieter Broers
Dieter Broers (geb. 1951, Pseudonym Morpheus) ist ein Autor von esoterischen und pseudowissenschaftlichen Werken sowie Erfinder von pseudomedizinischen Verfahren und Geräten.
In seinen Werken vermischt Broers vorzugsweise naturwissenschaftliche Befunde mit esoterischem Gedankengut und eigenen Erfindungen. Verdrehungen wissenschaftlicher Befunde sollen dabei von ihm angenommene "aufsehenserregende" Zusammenhänge in den Bereichen Astronomie oder Medizin herstellen.
Pseudowissenschaftliche Veröffentlichungen
Broers Texte zeichnen sich durch pseudowissenschaftliche Fantasien und oft sinnfreies Wortgeklingel aus, wie z.B.[1]
- "Das Schließen der [DNS] Brücken erfolgt durch gezielte Steuerung mittels quantentheoretischer Wahrscheinlichkeitsamplituden, die aus dem Hyperraum projiziert werden"
oder
- "Gefühle sind ein Netzwerk von elektromagnetischen Interferenzen, an denen ursächlich intelligente Elektronenschwingungen beteiligt sind"
oder, als angebliche Konsequenz aus den Theorien von Burkhard Heim:[2]
- "Menschen sind in einen zwölfdimensionalen Raum eingebettet. Die Linie zwischen der sechsten und der siebten Dimension zieht eine Trennung zwischen 'beseelten' und 'unbeseelten' Entitäten."
oder, aus seinem Blog [3]
- "Teile unseres Bewußtseins bestehen aus Fluktuationen (Schwankungen), die sich gleichzeitig vollziehen und alle Systeme miteinander verweben. Die langsameren der sich übergangslos darstellenden Fluktuationsschwingungen stellen unsere Bewusstseinsform dar. Ober- sowie Unterbewusstsein sind identisch. Das Bewusstsein von allen Universen (des Gesamtuniversellen) ist rein geistig zu verstehen und erschafft grundsätzlich alle physischen wie psychischen Formen. Viele Bewusstseine verfügen über transparente überlappende Anlagen, die einfach und simpel jeden Kontakt zum Geist herstellen. Die Seltenheit medialer Kontakte liegt an unseren verzerrten Bewusstseinszuständen. Sämtliche Facetten des Bewusstseins ermöglichen jedem Individuum eine Unzahl von Bewusstseinsdimensionen"
Broers behauptet Einflüsse der Sonnenaktivität auf den einzelnen Menschen und auf die Menschheit. Es bestehe ein Zusammenhang zwischen dem Aufstieg und Untergang von Weltreichen und dem 11-jährigen solaren Zyklus,[4] was Broers mit einem willkürlich zusammengestellten Diagramm zu untermauern versucht (siehe Bild rechts).[5] Auch Ereignisse wie den "Fall der Mauer" könne man aus Messdaten der Sonnenaktivität herauslesen.
Broers bezieht sich hier auf Routinemessungen des Erdmagnetfeldes, die in unregelmäßigen Abständen Schwankungen zeigen. Diese sog. geomagnetischen Störungen werden von geladenen Teilchen verursacht, welche die Erde von der Sonne erreichen und haben meist eine Dauer von einigen Tagen. Sie gehen mit einer Beeinträchtigung der Ausbreitung von Radiosignalen im Kurzwellenbereich einher. In extremen Fällen können auch Störungen in Elektrizitätsnetzen durch Induktion von Strömen in Überlandleitungen auftreten.[6] Solche unvorhersehbaren Vorkommnisse nachträglich etwa mit politischen Ereignissen in Beziehung zu setzen, ist absurd.
Gegenwärtig schwimmt Broers auf der 2012-Welle. Viele Esoteriker nehmen das Ende einer Epoche des Maya-Kalenders im Dezember 2012 zum Anlass, einen "Bewusstseinssprung" oder auch das Ende der Welt für diesen Zeitpunkt zu vermuten. Aussagen wie "aller Voraussicht nach erwartet uns bis zum Jahr 2012 – dann ist unser gegenwärtiger Sonnenzyklus auf dem Maximum – eine außerordentlich extreme Sonnenaktivität" belegen, dass er es auch bei leicht Nachprüfbarem mit den Fakten nicht so genau nimmt: Prognosen von Sonnenobservatorien zufolge werden sich der 2009 begonnene Solarzyklus (Sonnenfleckenzyklus) und das für 2012 oder 2013 zu erwartende Maximum kaum vom vorangegangenen unterscheiden.[7][8]
Andererseits machte Broers Anfang 2009 eine seiner Meinung nach ungewöhnlich niedrige Sonnenfleckenzahl aus. Grund sei, dass sich die Hauptaktivität der Sonne auf der erdabgewandten Seite abspiele. Dies könne man mit "Stereosatelliten" erfassen. Entsprechende Informationen würden der Öffentlichkeit jedoch vorenthalten und die NASA würde dazu ins Internet gestellte Bilder nachträglich manipulieren. Die Aktivität würde durch ein hinter der Sonne befindliches großes Objekt ausgelöst bzw. auf die Sonnenrückseite begrenzt, Broers zufolge "die einzig sinnvolle Erklärung".[2][9]
Broers Ansichten sind auch Thema bei Projekt Bewusst.TV von Braunesoteriker Jo Conrad und bei Nexworld-TV, bei dem auch Jan Udo Holey mitarbeitet.
Broers und der "Synchronisationsstrahl"
Neben der Sonne nennt Broers ein geheimnisvolles astronomisches Phänomen: Ein "Synchronisationsstrahl", der angeblich vom Zentrum unserer Milchstraße ausgehe. Dieser Strahl sei bereits den Maya bekannt gewesen und seit etwa 15 Jahren messbar. Laut Broers hätten die Mayas diesen angeblichen "Synchronisationsstrahl" Hunab-Ku genannt. Die Bezeichnung "Hunab-Ku" ist jedoch ein Begriff den katholische Missionare einführten, um eine Beziehung zum christlichen Glauben und zum Monotheismus einzuführen. Der Begriff "Hunab-Ku" ist auch nur aus der Zeit nach der Eroberung durch die Spanier bekannt.[10][11] In den 1950er Jahren wurde Hunab-Ku dann in der Esoterikszene mit Freimaurersymbolik in Verbindung gebracht. Schließlich hat der Esoterikautor Jose Argüelles die Hunab-Ku-Symbole aufgegriffen und mit der Milchstrasse assoziert. Laut Broers habe die NASA "von sensationellen Ereignissen, die nahezu identisch mit den Berichten der Maya zu sein scheinen", berichtet. Die Intensität des Strahls habe sich in jüngster Zeit stark erhöht, was für 2012 einiges erwarten lasse. An anderer Stelle sagt Broers: "So berichtete kürzlich die NASA, dass eine Energiewelle von nicht für möglich gehaltener Intensität – kurzzeitig so intensiv wie die Energie des gesamten Universums – direkt auf die Erde gerichtet war."[5] Inspiriert wurde Broers zu diesem Einfall anscheinend durch eine Meldung über einen besonders starken Gammastrahlenausbruch (Gamma ray burst, GRB).
Revolution 2012
Broers hat einen Film mit dem Titel Revolution 2012 – Das Erwachen des Menschlichen Bewusstseins produziert, der im Herbst 2009 in "ausgewählte Kinos" kommen sollte und ab Oktober 2009 in einzelnen Programmkinos zumeist außerhalb des regulären Spielplans gezeigt wurde. Zitat aus der Werbung: "2012 ist die Jahreszahl, für die in vielen Mythologien ein Bewusstseinssprung vorhergesagt wird. Was aber passiert danach? Werden wir begreifen lernen, dass der Tod nur eine Transformation ist? Entwickeln wir uns zu einer Art Hypermensch? Begreifen wir, dass wir Unsterbliche Wesen sind? Dem Regisseur ist es gelungen die wohl qualifiziertesten Experten aus den Bereichen der Naturwissenschaften zu diesen brennenden Fragen zu interviewen." Als die "wohl qualifiziertesten Experten" zu diesen angeblich brennenden Fragen werden genannt:
- Der Tonbandstimmenforscher Ernst Senkowski, dem es Broers zufolge gelungen ist, Botschaften von Wesen aus "Paralleluniversen" aufzufangen
- Die ehemalige Astrophysikerin Giuliana Conforto, die sich in ihrem Buch Das organische Universum mit der astrophysikalischen Hypothese der sog. dunklen Materie[12] beschäftigt und diese mit einer "kosmischen Intelligenz" und ähnlichem in Verbindung bringt[13]
- Rupert Sheldrake, Erfinder der morphogenetischen Felder
- Der Gynäkologe Leo Steib, der Koautor eines Buches über den Einfluss der Ernährung auf das prämenstruelle Syndrom ist und bei der Internet-Buchhandlung Amazon ein Buch von Morpheus/Broers enthusiastisch beurteilt hat.[14]
- Der Kirlianfotograf Michael König, laut Broers "wissenschaftlicher Leiter des Instituts für geistige Physik", ein Ende der 1990er Jahre gegründeter und 2004 aufgelöster deutsch-schweizerischer Verein zur "Erforschung und Verbreitung der physikalischen Grundlagen des geistigen Wachstums"
- Der Ufo-Gläubige Illobrand von Ludwiger (letztes Buch: UFOs – die unerwünschte Wahrheit, erschienen im Kopp Verlag)
Filmerfahrung konnte Broers bereits 2007 sammeln, als er an einem Werbefilm von Bärbel Mohr mitgewirkt hat. Ein Buch zum Film[2] ist im Scorpio-Verlag erschienen, einem esoterisch orientierten Kleinverlag aus München. Eine Rezension des Astronomen Florian Freistetter, die insbesondere auch Broers Marketingmasche untersucht, sich einen wissenschaftlichen Anstrich zu geben, kommt zu einem vernichtenden Urteil.[15]
Erfindungen
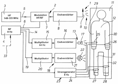
Broers Erfindungen entstanden größtenteils vor seiner Zeit als Esoterik-Autor und drehen sich überwiegend um den Einfluss elektromagnetischer Felder auf biologische Systeme. Er will bei Bakterien (z.B. e. coli) Veränderungen im Stoffwechsel festgestellt haben, wenn sie einem schwachen Magnetfeld mit einer Frequenz von ca. 150 MHz ausgesetzt werden, welches mit niederfrequenten Signalen in der Größenordnung von 10 Hz amplitudenmoduliert ist. Im Rahmen eines Drittmittelprojektes an der FU Berlin, das Broers initiiert und geleitet habe, sei ein Einfluss solcher Felder auf bestimmte Pilze nachgewiesen worden.
Eine aus diesem Forschungsvorhaben hervorgegangene Veröffentlichung aus dem Jahr 1990[17] wirft allerdings einige Fragen auf. Es wird darin beschrieben, dass Pilzsporen, die einem magnetischen Wechelsfeld der oben beschriebenen Art ausgesetzt wurden, bei sehr niedrigen Feldstärken (magnetische Induktion 20...30 pT) eine höhere Keimungsrate als bei stärkeren oder bei noch schwächeren Feldern zeigten. Leider fehlen Angaben, wie das Feld appliziert wurde (Art der Antenne usw.), was Aufschluss beispielsweise darüber hätte geben können, warum hier das magnetische und nicht das elektrische Feld wirksam sein soll. Sonderbar ist in diesem Zusammenhang auch die lakonische Mitteilung "When the 10 Hz low frequency was applied without the 150 MHz carrier frequency, neither mycelical nor yeast-like cultures exhibited any visible influence by the field", denn ein 10 Hz-Wechselfeld würde einen völlig anderen Versuchsaufbau bedingen als das 150 MHz-Hochfrequenzfeld. Den Frequenzbereich um 150 MHz bezeichnet Broers auch als "Broers'sches Fenster". Angaben dazu, ob bzw. warum das behauptete Phänomen auf diesen Frequenzbereich beschränkt ist, existieren jedoch nicht. Eine wissenschaftliche Bestätigung des von der Berliner Forschergruppe festgestellten Effekts fehlt ebenfalls.
Bereits Jahre zuvor hatte Broers seine Hochfrequenzgeneratoren Ärzten zur Verfügung gestellt. Es seien "außergewöhnliche Therapie-Erfolge" bei Asthma, Rheuma, Kopfschmerzen und dem Heilen von Knochenbrüchen erzielt worden. Bei einer Krebspatientin habe das Verfahren sogar eine Brustamputation überflüssig gemacht. Neben anekdotischen Berichten der behandelnden Ärzte präsentiert Broers dazu alte Artikel aus der Boulevardpresse über angebliche Heilerfolge. Doch selbst wenn ein Einfluss amplitudenmodulierter HF-Felder auf das Wachstum von bestimmten Mikroorganismen zuverlässig nachgewiesen worden wäre: Broers liefert keine Begründung, warum solche Felder bei allen möglichen Krankheiten positive Wirkung zeigen sollen (eine typische Denk- und Vorgehensweise von Pseudomedizinern) und ebenso wenig eine Rechtfertigung dafür, mit seiner "Magnetfeldtherapie" an Patienten herumzuprobieren. Ein Arzt in Nordrhein-Westfalen, mit dem Broers zusammenarbeitete, wurde dafür 1984 von der Ärztekammer Nordrhein abgemahnt.
Eine Variante des Verfahrens ist ein von Broers zum Patent angemeldetes Gerät (ob es jemals gebaut wurde, ist nicht bekannt), mit dem Eigenschaften von Arzneimitteln angeblich auf andere Substanzen übertragen werden können.[18] Dazu werden das Arzneimittel als "Informations-Emitter-Substanz" sowie eine "Informations-Receiver-Substanz", vorzugsweise destilliertes Wasser, gemeinsam einem amplitudenmodulierten Hochfrequenzfeld ausgesetzt. Nach einer Einwirkzeit von rund einer Minute habe das Wasser die "therapeutischen Eigenschaften" der Emitter-Substanz angenommen, ein Hokuspus, der Bezüge zu Radionik, Holopathie und sog. Orgon-Kopierstationen aufweist.
Zusammen mit dem Freie-Energie-Anhänger Helmut Reichelt hat Broers ein Patent angemeldet, bei dem durch ein hochfrequentes elektromagnetisches Feld "zum Beispiel Flüssigkeiten, Gase oder Lebewesen" nicht nur erwärmt, sondern auch abgekühlt werden sollen.[19] Das soll so funktionieren: Das hochfrequente Feld "verursacht eine Resonanz" der bestrahlten Substanz, die dann ihrerseits Energie abstrahle (und offenbar auf wundersame Weise mehr, als eingestrahlt wurde), die mit einer zweiten Antenne aufgefangen und abgeleitet wird, wodurch sich die Substanz abkühlen würde. Das ist jedoch physikalisch unmöglich.
Broers wird auch als Erfinder des Naturfeld-Stabilisators NFS 8 genannt. Mit dem Gerät wird der bei Esoterikern anzutreffende Glaube bedient, dass die Schumann-Strahlung einen Einfluss auf das menschliche Wohlbefinden habe. Es erzeugt ein magnetisches Wechelsfeld mit einer Frequenz von etwa 8 Hz und wird nach Art eines Amuletts am Körper getragen. In der Werbung ist davon die Rede, dass das Erdmagnetfeld sich in letzter Zeit stark abschwäche, was zu einem "Magnetfelddefizit-Syndrom" führe. Dies könne durch den Naturfeld-Stabilisator verhindert werden. Er wird von einigen wenigen Esoterikhändlern für etwa 300 Euro angeboten.
Angeblicher wissenschaftlicher Werdegang
Broers gibt vor, Wissenschaftler zu sein und bezeichnet sich als Biophysiker. Auf seiner Internetseite zählt er als Meilensteine seines Schaffens alle möglichen Kleinigkeiten wie z.B. Besuche von Tagungen auf und präsentiert sogar ein "Zwischenzeugnis" eines Arbeitgebers von 1985, macht aber keinerlei Angaben über seine Ausbildung. Anderen Quellen zufolge hat Broers in Hamburg und Kiel Elektrotechnik studiert und soll an einer George Washington University of California promoviert haben. Neben diesem Doktortitel habe er einen Dr. h.c. (ehrenhalber verliehener Doktorgrad) einer Rutherford-University in Wyoming. Beide Einrichtungen werden in entsprechenden Verzeichnissen als Titelmühlen geführt,[20][21][22][23] d.h. es handelt sich um kommerzielle Unternehmen, die Urkunden mit akademischen Scheintiteln verkaufen. Obwohl das Führen solcher Titel in Deutschland strafbar ist, tritt Broers in der Öffentlichkeit grundsätzlich als Dr. auf. Diese Hochstapelei betreibt er auch bei seinen Patentanmeldungen, in denen als Erfinder "Dr. Dieter Broers" angegeben ist. Als im Dezember 2009 über die Legitimierung zur Führung des Doktortitels im Blog Astrodicticum Simplex des Astronomen Florian Freistetter diskutiert wurde, wurde noch am gleichen Tag die Homepage von Broers geändert.[24] In der aktualisierten Version wird auf das Dr. verzichtet.
Seit 1997 ist Broers nach eigenen Angaben "Direktor für Biophysik" des undurchsichtigen Münchener Vereins International Council of Scientific Development (ICSD)[25] und forsche "überwiegend in seinem Labor in Griechenland". Aus dieser Tätigkeit resultierende Publikationen sind nicht bekannt. Ferner gibt Broers an, dass er 1999 "Stellvertretender Direktor des Institut für Umweltmedizin der Universität Erlangen-Nürnberg, Prof. Häder, Koordinationszentrale: Nürnberg-Feucht" geworden sei. An der Universität Erlangen-Nürnberg existiert ein Institut und Poliklinik für Arbeits-, Sozial- und Umweltmedizin, eine Tätigkeit von Broers dort oder in einer anderen Position an der Universität lässt sich aber nicht bestätigen. Tatsächlich ist die "Koordinationszentrale Nürnberg-Feucht" keine universitäre Einrichtung, sondern die Adresse des im Zusammenhang mit Broers 2012-Film genannten Frauenarztes Leo Steib, der wie Broers ICSD-Mitglied ist. Der neben Steib als "Direktor" angegebene Prof. Donat-Peter Häder war Leiter des botanischen Gartens der Universität und wurde zeitweise ebenfalls vom ICSD als Mitglied genannt. Anfang 2010 wurde Broers haltlose Behauptung auf seiner Internetseite durch die Formulierung ersetzt, er sei seit 1999 "Stellvertretender Direktor des vom ICSD gegründeten Institut für Umweltmedizin". Über ein solches Institut lässt sich jedoch ebenfalls nichts in Erfahrung bringen.
An wissenschaftlichen Veröffentlichungen existiert nur die oben erwähnte aus dem Jahr 1990 mit Broers als Mitverfasser.[17] Das Projekt, aus dem diese Arbeit hervorgegangen ist, wird in Broers Auflistung besonders betont, wobei eine Beteiligung an nur einem einzigen öffentlich geförderten Forschungsvorhaben in 25 Jahren, ebenso wie die geringe Zahl von Veröffentlichungen, für einen Wissenschaftler als sehr schlechtes Zeugnis gilt. Broers umschreibt sein angebliches Wirken auch als "indirekt-spezifische Förderung von Forschungs- und Entwicklungsvorhaben" und verbreitet die Verschwörungstheorie, dass Arbeiten von ihm "unterdrückt" würden.[26][27][28]
Weblinks
- http://www.mega-wave.de/ und http://www.dieterbroers.info/ Dieter Broers Internetseite
- http://www.revolution-2012.de/blog/ Dieter Broers Blog
- Interview in Hörzu
- http://brightsblog.wordpress.com/2009/04/09/menstruationszyklus-vs-sonnenzyklus/
- http://www.scienceblogs.de/astrodicticum-simplex/2009/07/kein-weltuntergang-am-21122012-teil-2.php
- http://www.scienceblogs.de/astrodicticum-simplex/2009/09/es-gibt-keinen-synchronisationsstrahl-aus-dem-zentrum-der-milchstrasse.php
Quellennachweise und Anmerkungen
- ↑ Morpheus: Die Realitätenmacher: Physik des Bewußtseins. Trinity Verlag 2005
- ↑ 2,0 2,1 2,2 Dieter Broers: (R)Evolution 2012: Warum die Menschheit vor einem Evolutionssprung steht. Scorpio Verlag 2009
- ↑ http://www.revolution-2012.com/blog/2009/11/parallel-universen-und-das-bewusstsein-teil-2/
- ↑ http://www3.hoerzu.de/heft/interview_broers/ Interview mit der Fernsehzeitschrift Hörzu von 2008
- ↑ 5,0 5,1 http://www.bleepkongress.com/bleepkongress/newsarchiv/12_08_08__dr__dieter_broers_im_interview_ger.html
- ↑ W.H. Campbell: Introduction to geomagnetic fields. Cambridge University Press, 1997
- ↑ http://www.swpc.noaa.gov/SolarCycle/SC24/index.html
- ↑ http://www.ips.gov.au/Solar/1/6
- ↑ http://cropfm.at/cropfm/services/download?file=sendung_broers_teil2.mp3&path=mp3/ Interview bei CROPfm am 8. Mai 2009
- ↑ Kay Almere Read,Jason J. González: Mesoamerican Mythology: A Guide To The Gods, Heroes, Rituals, And Beliefs Of Mexico And Central America, Oxford University Press
- ↑ http://en.wikipedia.org/wiki/Hunab_Ku
- ↑ Siehe z.B. die Artikelserie über Dunkle Materie bei Welt der Physik
- ↑ Confortos Buch Das organische Universum ist in Deutschland im Mosquito Verlag erschienen, der sich auf Verschwörungstheorien spezialisiert hat (Starautor des Verlages ist David Icke). Veröffentlichte Leseproben lassen erkennen, dass Conforto eine ähnliche Vorliebe für Geschwurbel hat wie Broers selbst: "Unser sichtbarer Körper ist ein biologischer Roboter, der in eine sichtbare Matrix eingebettet ist. Unser wahres Selbst ist dennoch aussen. Sie/Er ist unsere innere Stimme, die wir als Unbewusstes fühlen können, während der sogenannte "bewusste" Anteil (5%) der sichtbare Persönlichkeitsanteil des Roboters ist, entfremdet vom LEBEN, weil er/sie nicht imstande ist, auf die Botschaften seines/ihres wahren Selbst zu hören [...] Durch die zunehmende Intensität der "schwachen" Seite der Kraft, des kosmischen Lebens, können wir jetzt die Matrix transformieren, wenn wir unsere gewohnten Glaubenssätze transformieren, d.h. verstehen, dass wir "Erdlinge" alle domestizierte Aliens sind, sterbliche biologische Roboter, die Restbilder der unsterblichen kosmischen Staatsbürger."
- ↑ Aus Steibs grotesker Rezension von Broers/Morpheus' Transformation der Erde. Interkosmische Einflüsse auf das Bewusstsein: "Das vorliegende Werk ist nicht nur ein phantastisches wissenschaftliches, sondern auch ein eminent gesellschaftspolitisches Buch, wenn der Leser weiterdenkt. Es ist von so grosser geopolitischer Tragweite und Bedeutung, dass zu hoffen ist, dass es möglichst bald in russischer und englischer Sprache zur Verfügung steht, damit es dann entsprechenden alliierten Offizieren als Pflichtlektüre zur Verfügung gestellt werden kann. Bundespolitiker sollten es ohnehin gelesen haben. Denn nur auf diese Weise wird es möglich werden, die Nachkriegszeit und die "versteinerten" alliierten Vorbehalte aufzulösen und die politische Situation soweit mitzugestalten, dass die Wahrheit kompromisslos lebbar wird [...] Es ist das Verdienst des Buches die Grundlagen für derartige ethische Denkansätze aufzuzeigen - fast wie ein wissenschaftlich fundierter Katechismus einer neuen Epoche. Möglicherweise ist das auch ein Grund für den Papstbesuch in den nächsten Tagen. Seine Heiligkeit wurde ohnehin schon vor über einem Jahr direkt galaktisch kontaktiert. Was Keppler für das Denken des Mittelalters bewirkt hat, bedeutet dieser Autor für das Denken der Postmoderne [...]"
- ↑ http://www.scienceblogs.de/astrodicticum-simplex/2009/11/dieter-broers-revolution-2012.php
- ↑ DE 10100385 Beeinflussungsvorrichtung zur therapeutischen Beeinflussung wenigstens von Teilbereichen eines Lebewesens. Anmeldetag 5. Januar 2001
- ↑ 17,0 17,1 Wittekind E, Broers D, Kraepelin G, Lamprecht I (1990): Influence of non-thermic AC magnetic fields on spore germination in a dimorphic fungus. Rad Environ Biophys 29:143-152
- ↑ DE 19520942 Verfahren zur Herstellung eines Arzneimittels. Anmeldetag 2. Juni 1995
- ↑ EP 0777524: Verfahren und Vorrichtung zur Beeinflussung der Temperatur einer diskreten Materie. Anmeldetag: 16.08.1995
- ↑ http://www.credentialwatch.org/non/mich.shtml Michigan's List of Nonaccredited Colleges and Universities
- ↑ http://www.osac.state.or.us/oda/unaccredited.aspx Liste der Oregon Student Assistance Commission
- ↑ http://mainegov-images.informe.org/education/highered/Non-Accredited/UnaccreditedSchools-042706.pdf Liste des Maine Department of Education
- ↑ http://www.ad.nl/ad/nl/1012/Binnenland/article/detail/378542/2008/04/10/Een-diploma-van-niks-voor-10-000-euro.dhtml Bericht im Algemeen Daagblad vom 10. April 2008 über wertlose Diplome von der Rutherford University
- ↑ http://www.scienceblogs.de/astrodicticum-simplex/2009/11/dieter-broers-revolution-2012.php#comment73899
- ↑ http://www.psiram.com/media/ICSD/icsd-broers.pdf Schreiben des ICSD an Dieter Broers von 1992, 1999 und 2000
- ↑ In einer Ankündigung zu einem Vortrag von Broers im Jahr 2006 hieß es, seine Erfindungen würden "seitens der Pharmazie elementar unterdrückt. So sind beispielsweise sämtliche Reviewed Paper von ihm nicht mehr in den internationalen Suchmaschinen zu finden (was bis 1997 noch der Fall war)." (franken-buecher.de/einladung-gesellschaft-fuer-raumzeitforschung-buch_infos-68.html, Abruf am 9. April 2009)
- ↑ Auf seiner Webseite zeigt er einen Ausschnitt aus dem sog. Frequenznutzungsplan (erhältlich bei der Bundesnetzagentur) für den seiner Ansicht nach biologisch besonders wirksamen Bereich um 150 MHz. Damit könnten angebliche "Anstrengungen von diversen politisch/wirtschaftlich orientierten Gruppierungen erklärt werden, die diese Forschungen zu unterbinden versuchen." Wie Broers zu dieser Behauptung kommt, ist unerfindlich, zumal medizinische und andere Anwendungen von Hochfrequenzenergie, "deren Frequenzen aufgrund des gewünschten physikalischen Effekts nicht frei wählbar sind", von wenigen Ausnahmen abgesehen auch auf Frequenzen arbeiten dürfen, die anderen Funkdiensten zugeteilt sind, sofern dabei keine Störungen verursacht werden.
- ↑ In einem einschlägigen Internetforum behauptete Broers, es würden seine "Arbeiten von den Verlagen regelmäßig zurückgewiesen – trotz gut abgesicherter Ergebnisse." (Forum CROPfm, 28. Mai 2009). Außerdem "findet seit der Veröffentlichung meines Interviews ("HÖRZU" 12/2008) eine "Hetzjagd" gegen mich statt, die weitreichende Folgen nach sich zieht. So wurden beispielsweise unmittelbar nach der Hörzu-Veröffentlichung der Chefredakteur und sein Stellvertreter fristlos entlassen. Das besagte Buch "Transformation der Erde" darf in der bekannten Form nicht mehr in den Handel. Ebenso läuft seit dieser Zeit eine gnadenlose Verleumdungskampagne gegen mich." (Forum CROPfm, 10. Mai 2009)

