Electro-acupuncture selon Voll
L'Electro-acupuncture selon Voll (EAV en abrégé), parfois appelée Organométrie selon Voll, est une procédure pseudo-médicale très répandue dans la médecine alternative. En outre, les procédures issues de la Médecine Traditionelle Chinoise (MTC) sont également appelées électroacupuncture (EAP)[1] dans laquelle la MTC est combinée à des appareils électriques. Cependant, l'électroacupuncture[1] a peu de choses en commun avec l'EAV.
L'électro-acuponcture selon Voll est une procédure liée à la radionique. Elle a remonte en fait au médecin français Roger de la Fuye (1890 - 1961) qui a mis au point le premier appareil d'électro-acupuncture. Au début des années 1950, le principe de électro-acupuncture a été approfondi en Allemagne par les médecins W. Schmidt à Dachau et E. Schick à Stuttgart. L'EAV actuelle remonte au médecin allemand Reinhold Voll (1909-1989)[2] de Plochingen (près de Stuttgart).
Des procédures fonctionnellement identiques sont appararues sous les noms de Diagnostic biologique fonctionnel selon Voll, Biométrie analytique fonctionnelle, Diagnostic du système biométrique, Test électrodermique, Système électronique d'organométrie, Thérapie de régulation et Test Vega (Test du réflexe Végétatif). Outre l'EAV, des termes tels que electrodermal assessment (EDA), electrodermal screening (EDS) ou electrodermal testing (EDT) sont également couramment utilisés dans le monde anglophone.
Principe de fonctionnement
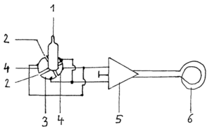
La méthode EAV est à considérer comme une mesure de la résistance électrique de divers points de la peau par rapport à un point de référence, cette mesure est effectuée avec un appareil d'aspect compliqué. En principe, cependant, il s'agit d'un simple ohmmètre.
Les points cutanés testés sont appelés points d'acupuncture et sont censés être liés à l'acupuncture des méthodes de guérison extrême-orientales. La résistance cutanée est mesurée à environ 1000 points d'acupuncture différents. En règle générale, cependant, les mesures sont prises en 120 points sur les mains et les pieds. Une électrode que le patient doit tenir dans sa main pendant l'examen est généralement utilisée comme point de référence. Selon Voll, la résistance mesurée doit être comprise entre environ 10 kΩ (kiloohms) et un maximum de 4 MΩ. Le courant de mesure qui traverse le corps est de 6 à 10 µA. La valeur mesurée déterminée est affichée sur les appareils sous la forme d'un nombre compris entre 0 et 100. La valeur 0 doit indiquer la résistance cutanée la plus élevée possible, la valeur 50 doit correspondre à une résistance de 95 kΩ et la valeur 100 serait comparable à un court-circuit (0 Ohm).
Ces chiffres sont destinés à fournir des informations sur les perturbations de l'organisme. La valeur moyenne du pointeur de 50 est considérée comme une valeur saine en électroacupuncture. Des valeurs faibles sont censées indiquer des tendances dégénératives, des valeurs très élevées des tendances inflammatoires. Un phénomène qui fait que la déviation d'un pointeur monte d'abord puis redescend immédiatement est appelé "chute du pointeur" en EAV. Cet événement est censé indiquer des problèmes de santé aigus.
Test de résonance
Une partie importante de la théorie EAV est une méthode qui est appelée le test de résonance ou test de médicament. Avec, on sélectionne les substances appropriées pour le patient qui seront données ensuite comme thérapie. Dans ce but, des ampoules avec divers substats, par exemple des médicaments ou des nosodes (dilutions homéopathiques des substances issues de "produits de maladie" comme par exemple le sang du patient) sont mises dans un récipient qui est connecté électriquement au patient qui tient en plus à la main en tant qu'électrode, par exemple, un long cylindre en métal. La réaction de l'appareil-EAV (à savoir le changement de résistance de la peau du patient) est regardée et interprétée selon l'EAV. Selon les indications des fabricants des appareils, tous les aliments peuvent être testés avec cette méthode, et on peut connaître les intolérances à des produits alimentaires ou à l'environnement.
Au lieu de mettre le substrat dans un récipient de métal, le test est supposé fonctionner également quand le patient tient simplement dans la main une ampoule avec le substrat. Souvent, l'appareil-EAV lui-même présente un dispositif d'insertion ("alvéole de mesure") ou un branchement approprié, et le signal électrique provenant soi-disant du substrat est inséré dans le circuit de mesure de l'appareil-EAV d'une manière qui n'est pas expliquée avec plus de détails.
Les signaux peuvent aussi être renforcés en partie dans l'appareil et être manipulé autrement. Bien qu'elles puissent être traitées avec des composants électroniques traditionnels, les particularités des signaux sont laissées dans le vague; dans les descriptions de l'EAV, on ne trouve aucune information sur la tension au cours du temps ou les spectres de fréquences.
Un autre développement du test des médicaments consiste à retransmettre les "informations" soi-disant prises des nosodes ou autres préparations à une autre substance qui se trouve dans un second récipient raccordé. La substance recevrait donc les propriétés thérapeutiques de la substance initiale. Pour cette procédure, des appareils spéciaux sont disponibles, par exemple, le "Wave Transfer"[3].
Historique de l'EAV
Reinhold Voll, un médecin généraliste de Plochingen, reçu dans les années 1950 un appareil d'électro-acupuncture d'un autre médecin et examina conjointement avec l'ingénieur Fritz Werner la mesurabilité des "perturbations énergétiques" dans le corps humain. Ils émirent l'hypothèse d'une relation entre la résistance, ou plutôt la conductance des régions de peau connues corrélées dans l'acupuncture, et les maladies. La Biorésonance, plus tardive, issue de l'EAV est due au médecin Franz Morell, un adepte de Voll.
Expertise de produits charlatanesques
L'EAV selon Voll est aussi employée pour l'expertise de produits de toute évidence de charlatanerie. Ainsi une firme Georg Bellof - Life Power Products[4] de Pohlheim (Allemagne) montre des images de prétendus changements de résistance de la peau grâce à la seule présence de soi-disant produits de protection contre le rayonnement terrestre[5] et l'électrosmog (ou pollution électromagnétique)[6].
Preuves d'efficacité et critique de l'EAV
D'un point de vue scientifique, il n'existe aucune preuve de l'efficacité de l'EAV. La résistance de la peau est déterminée en premier lieu par l'activité des glandes sudoripares. Pour cette seule raison, son utilisation pour le diagnostic et l'évaluation des maladies est aberrante étant donné que leur activité est aussi influencée par des facteurs qui n'ont rien à voir avec les maladies. En outre, le praticien peut, lors de la mesure, appuyer avec son électrode de test plus ou moins fort sur la peau, ce qui provoque un changement de résistance et peut ainsi influencer à volonté le résultat de la mesure. Les fabricants ont pallié à cet inconvénient avec le développement d'électrodes dermiques avec lesquelles est exercé au moyen d'un ressort une pression constante sur la peau. De telles électrodes ne trouvent cependant pas, en général, d'utilisation chez les thérapeutes individuels.
La recherche scientifique dans le domaine de l'acupuncture n'a pu trouver aucune preuve de l'existence des méridiens. On n'a pas pu prouver scientifiquement de changements de résistance ou d'impédance aux points d'acupuncture par rapport aux points voisins. Dans le diagnostic d'allergie, le procédé-EAV a échoué lors des essais scientifiques. Même en Allemagne, l'assurance maladie ne prend pas en charge les coûts d'un traitement-EAV en raison de l'absence de preuve d'efficacité.
Liens externes
- Article d'un admirateur français de l'électro-acupuncture selon Voll mentionné ici pour la description qu'il donne en français du procédé [7]
- https://quackwatch.org/related/electro/ Quack “Electrodiagnostic” Devices (Appareils "électrodiagnostiques" de charlatanisme). Auteur: Stephen Barrett, M.D., article publié le 14 février 2018.
[Traduction DeepL:] Des milliers de praticiens utilisent des appaeils «électrodiagnostiques» pour les aider à choisir le traitement qu'ils recommandent. Beaucoup prétendent pouvoir déterminer la cause de toute maladie en détectant le «déséquilibre énergétique» à l'origine du problème. Certains prétendent également que ces appareils peuvent détecter si une personne est allergique ou sensible aux aliments, si elle a une carencée en vitamines ou si ses dents sont défectueuses. Certains prétendent qu'ils peuvent dire si une maladie, comme le cancer ou le sida, n'est pas présente. Une clinique mexicaine a même affirmé qu'un tel appareil pourrait être utilisé pour guérir le cancer [1]. La procédure de diagnostic est le plus souvent appelée électroacupuncture selon Voll (EAV) ou dépistage électrodermique (EDS), mais certains praticiens l'appellent diagnostic des fonctions bioélectriques (BFD), thérapie par résonance biologique (BRT), technique de régulation de la bioénergétique (BER), médecine biocybernétique (BM), dépistage électrodermique informatisé (CEDS), analyse informatisée du stress électrodermique (CDCSA), test électrodermique (EDT), évaluation du stress limbique (LSA), analyse de l'énergie méridienne (MEA) ou test ponctuel. Les appareils d'EAV sont commercialisés par plusieurs sociétés, dont la plupart sponsorisent également des séminaires.
Histoire d'EAV
Les premiers appareils EAV ont été développés par Reinhold Voll, un médecin ouest-allemand qui s'était engagé dans la pratique de l'acupuncture dans les années 1950 [2]. En 1958, il a combiné la théorie chinoise de l'acupuncture avec des différentiels galvaniques cutanés pour produire son système EAV. Son premier modèle transistorisé était le Dermatron. Quelques années plus tard, l'un de ses étudiants (un autre médecin allemand nommé Helmut Schimmel) a simplifié le système de diagnostic d'environ 850 points à 60 points, apporté de petites modifications à l'équipement et a continué à aider à créer le premier modèle du Vegatest. Les variantes suivantes incluent l' AcuGraph, Accupath 1000, Asyra, Avatar, BICOM, Bio-Tron, Biomeridian, BioScan, BioTracker, Computron, CSA 2001, DBE204, Diacom, DiagnoMètre, Eclosion, e-Lybra 8, ELAST, Interactive Query System (IQS), Interro, I -Tronic, Kindling, LISTEN System, Matrix Physique System, Meridian Energy Analysis Device (MEAD), MORA, MSAS, Oberon , Omega Acubase, Omega Vision, Orion System, Phazx, Prognos, Prophyle, Punctos III, Quest4, Sensitiv Imago, SpectraVision , Syncromètre, Vantage, Vitel 618 et ZYTO. [...] - https://quackwatch.org/consumer-protection/eav/ Regulatory Actions Related to EAV Devices (Actions réglementaires liées aux dispositifs EAV). Auteur: Stephen Barrett, M.D., Article publié le 30 août 2018.
- https://sciencebasedmedicine.org/13926/ Electrodermal Testing Part I: Fooling Patients with a Computerized Magic Eight Ball (Test électrodermique, partie I: tromper les patients avec un Magic Eight Ball informatisé). Par Harriet Hall, on July 5, 2011.
Article de Psiram dans d'autres langues
- Deutsch: Elektroakupunktur nach Voll
Références
- ↑ 1,0 et 1,1 https://www.psiram.com/de/index.php/Elektroakupunktur (allemand)
- ↑ https://www.psiram.com/de/index.php/Reinhold_Voll (allemand)
- ↑ Le "Wave Transfert" (allemand)
- ↑ Life Power Products (allemand)
- ↑ http://www.pseudo-sciences.org/spip.php?article1167 Ondes et croyances paranormales par Henri Brugère - SPS n° 285, avril-juin 2009
- ↑ http://www.pseudo-sciences.org/spip.php?article1177 Les « dispositifs protecteurs » par Jean Günther - SPS n° 285, avril 2009. Les peurs irraisonnées et manipulées des ondes électromagnétiques ont conduit d’habiles commerçants à vendre des dispositifs supposés protecteurs
- ↑ http://www.delvaux-danze.be/Electroacupuncture.pdf


