Pier Rubesa
Pier Rubesa[1][2] [3], d'origine canadienne, il serait pianiste, musicien-compositeur, ingénieur du son, chercheur indépendant et inventeur, et habite depuis quelques années en Suisse.
Les recherches de Mr Rubesa
Il effectue ses recherches sur tout le vivant, les êtres humains, les animaux, les plantes, l'eau, mais aussi les cellules, les organes... .
Une instructive discussion à propos de Mr Rubesa au sujet de la communication chez les plantes sur le forum de futura-sciences[4] [5]: "L'article auquel tu renvoies commence ainsi "un chercheur canadien..." mais si je cherche les publications de P. Rubesa sur le site de l'ISI, il n'y en a pas. Un chercheur, ce n'est pas forcément quelqu'un qui est affilié à une université ou un institut de recherche, mais c'est au minimum quelqu'un qui publie des articles scientifiques. L'article commençant par un mensonge, il n'est pas nécessaire d'en lire beaucoup plus." [...] "Il y a peu d'information sur son bioscope car il a un brevet" [...] "un brevet n'est pas du tout une caution scientifique. Je peux demain déposer un brevet sur l'influence indirecte entre la couleur des yeux d'un individu et la moyenne de l'étage où il habite" [...] "Je ne vois pas de "travaux". Du moins, aucun travail de recherche scientifique. Pier Rubesa a au passage un niveau complètement nul en biologie, et ça se voit ; c'est n'importe quoi cette interview." (une interview publiée par le magazine Nexus[6]) [...] "j'ai bien essayé de lire qcq ecrit de rubesa, mais je ne tombe que sur des blogs, dont certains sont plus que douteux. enfin on peut aussi y lire que ce monsieur cite l'eau comme matière vivante, alors j'ai arrété ma lecture." [...] "j'avais un joli verre particulièrement sensible. il se mettait à "chanter" quand je le caressais avec mon index. preuve indubitable n'est ce pas de sa receptibilité à cette expression de tendresse de ma part. j'ai ensuite fait un appareil pour chanter comme lui et plus fort que lui. il a du être "vexé", il n 'a pas aimé et il a explosé. bref, il s'est suicidé. j'ai donc là la preuve irréfutable qu'il est conscient, receptif et même mortel, donc forcement vivant. son suicide serait-il lui la preuve de l'existence de son ame ? que la modération me pardonne ce trait d'humour, mais j'ai bien lu les blogs concernant cet inventeur ( blogs qui au passage repetent sans fin la même chose ). Et je n'y ai vu aucune découverte. En revanche j'y ai vu des conclusions particulièrement ésotériques, ce qui m'a entrainé dans la voie de l'ironie."
Les inventions de Mr Rubesa
Il est l'inventeur du Bioscope[7], un appareil qui "met en évidence l’interaction énergétique de ces forces vibratoires, et leur dynamique dans les sphères du vivant. C’est un concept qui nous emmène plus loin et plus profondément dans la compréhension du phénomène et de l’expérience de la vie. Il relie ce qui est considéré comme étant irrationnel, et illumine avec une évidence rationnelle."'
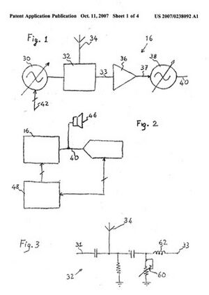
Le principe de cet appareil a fait l'objet d'un brevet (ou patente) que Mr Pier Rubesa a déposé aux USA le 11 octobre 2007[8]: Méthode et dispositif pour la détection, la mesure et l'analyse de la diversité biologique, bio-actifs, des signaux bioénergétiques et bioharmonic Résumé: Dispositif et procédé pour la détection d'un champ bioharmonic émanant d'un organisme. Comprend un oscillateur de base, pour émettre une fréquence audio de l'organisme à l'essai, et un oscillateur de modulation, pour combiner un signal électromagnétique reçu de l'organisme à l'essai avec un transporteur audio.
Un des utilisateurs du Bioscope, est le suisse Nicolas Stelling, médecin-dentiste (en dentisterie holistique)[9] qui est aussi intervenu à l'Université d'été de Physioquanta à Sète en septembre 2011[10].
Il est aussi question d'un nouvel appareil, l'Audiovitality, inventé certainement très récemment puisque la nouvelle société de Mr Rubesa "Vitality Universe Sarl" a été créée en mai 2012.[11] [12]
Ses activités commerciales
Pier Rubesa fait la promotion de la fontaine magnétique[13] [14] de Thierry Kelles qui se prétend polytechnicien et ne l'est pas[15]. Ici une vidéo vantant le produit[16]: Le Chat de Fabrice ANDRE, au refuge de Sarenne, lieu pilote de l'AIEM (Association pour la promotion de l'Ingénierie Eco-Moderne) jouant avec une toupie dipole Tesla entrainée par un vortex magnétique sur une Fontaine Magnétique créée par Thierry KELLER. Ce dispositif est basée sur les travaux de Marcel Violet, Nikola TESLA, Viktor SCHAUBERGER, BENVENISTE, ROCARD... Le fond sonore est de la Biomusic 6 in 1, testé par Emoto Masaru, mais aussi avec des photos Kirlian. Musique utilisée avec l'aimable autorisation de Jean-Louis FARGIER et Loriana Music.
Remarquons que les anneaux "magnétiseurs" de la fontaine "magnétique" peuvent être en bois, et même en essences nobles, acajou, cèdre ou ébène. Mr Rubesa en aurait lui-même testé l'efficacité.
Les sociétés où Pier Rubesa s'est impliqué
- En 2004 création de STARGENIX-Sarl[17], au Capital social: CHF 20 000. Associé: Rubesa Pier, du Canada, à Calgary (Canada), pour une part de CHF 15 000. Rubesa revend sa part en 2005.
- Mars 2006 Rubesa prend la tête, presque seul, de la SONOSCOPE SA qu'il rachète à l'aide d'une licence exclusive (sa patente)[18]. Il quitte Sonoscope SA en décembre 2008. D'où le premier nom de son "invention", devenu depuis le Bioscope.
- The Center for Bioharmonic Research, Rue du Lac 155, CH 1815 Montreux-Clarens (Suisse)[19] [20]. Pourtant au 155 rue du Lac à Clarens, à part une femme thérapeute, on ne trouve ni Mr Rubesa, ni un centre quelconque appelé Centre for Bioharmonic Research, ni un Vitality Universe, ni laboratoire, ni centre de recherche. On ne trouve pour cet adresse qu'un nom de domaine web appartient à un Pier Rubesa, 155 rue du Lac à Clarens, voir en bas ici[21], bref en enveloppe vide.
- Mai 2012: Vitality Universe Sarl, à Montreux, rue du Lac 155, 1815 Clarens, [22], le capital social est toujours de CHF 20 000 dont Rubesa détient CHF 16 000. But: la société a pour but toutes activités dans le domaine du vibratoire, en particulier, la commercialisation de tous les produits, solutions, applications, services et concepts en lien avec le domaine vibratoire ...
- Enfin un fil d'Ariane: l'association Le fil d'Ariane de Philippe Bombeeck Président chez Le Fil d'Ariane asbl et Secrétaire général reformed-eu.org[23], voilà le Centre de Recherche Bioharmonique [24] et nous retrouvons Mr Rubesa[25] qui a ajouté à son Bioscope[26] un nouvel appareil l'Audiovitality[27], un générateur de fréquences sonores correspondant aux couleurs.
Les activités de Mr Rubesa
Quand on lit à propos de l'Audiovitality qu' "Il s'agit ici d'un outil thérapeutique", comment pourrait-on croire que Mr Rubesa se contente de s'occuper du psychisme et n'a aucunes visées thérapeutiques[28]?
Dans le programme du centre lefildariane, 10 Quesval 5530 Spontin, Belgique[29], (essentiellement un centre de kinésiologie), on trouve les activités de formateur de Mr Rubesa, voir les paragraphes 1.12, 1.13 et 9. On y apprend que "le Bioscope combiné à l'Audiovitality est basé sur les études faites par la NASA sur les différentes fréquences des organes localisés dans les zones spécifiques du corps".
Mr Rubesa intervient aussi au Centre Prévention et Santé (CPS) La Mandorle, 10 route de Sombacour à Coulommier en Suisse, les informations sont données à la rubrique Formations continues (!) et Formations professionnelles (!)[30].
Donc des activités de "thérapeute" et des formations au maniement des Bioscope et Audiovitality. Il faut y ajouter les conférences, salons, congrès ...
Pier Rubesa au 3° congrès international des thérapies quantiques
Pour le prix de 150€ d'un pass pour les trois jours de ce congrès organisé par Marion Kaplan, le public a eu le privilège d'écouter le dimanche 18 novembre de 16h30 à 18h l'intervention de Pier Rubesa, un des "précuseurs de la médecine de demain",[31] intitulée « Mise en évidence des signatures électriques et vibratoires du vivant. », et heureux de "la qualité des interventions", il pourra réécouter Mr Rubesa à Noel en achetant le DVD de cette rencontre pour 72€ au lieu du prix normal de 92€50[32], ou même acheter le Bioscope 3000[33].
Liens externes
- www.corzeame.fr/lafontainemagnet/manuel-fontaine-magnetique-a-vortex-tesla-schauberger.pdf Manuel décrivant la Fontaine magnétique de Mrs David MORAND & Thierry KELLER, pour laquelle Pier Rubisa fait de la publicité.
- http://www.fontainemagnetique.fr/fr/les-fontaines Les appareils pour lesquels Mr Rubesa fait de la publicité. Prix: de 190€ à 3000€ !
- http://www.fontainemagnetique.fr/fr/chercheurs
Amusante la liste des "références scientifiques" pour cet appareil : Nicolas Tesla[34], Viktor Schauberger[35], Marcel Violet[36], Yves Rocard[37], Jacques Benveniste[38] et Masaru Emoto[39].
Citation
"Je suis donc convaincu, qu'avec nos pensées, nous pouvons transformer et influencer pas seulement les plantes et l'eau, mais aussi nous-mêmes et notre monde."
Références
- ↑ http://www.aucoeurdelanature.com/dossier_secret_des_secrets.htm
- ↑ http://pierrubesa.com/?page_id=30 Le blog personnel de Mr Rubesa (Le site du blog semble avoir été fermé.)
- ↑ http://www.fontainemagnetique.fr/fr/home La fontaine magnétique, appareil dont Mr Rubesa fait la promotion
- ↑ http://forums.futura-sciences.com/debats-scientifiques/420266-communication-chez-plantes-7.html
- ↑ http://forums.futura-sciences.com/debats-scientifiques/420266-communication-chez-plantes-8.html
- ↑ http://www.lefildariane.be/IMG/pdf/Article_Nexus_2009.pdf Les illustrations du violoniste à la tête remplacée par une fleur (une pensée) sont bien trouvées et de circonstance
- ↑ http://effiworld.fr/pier-rubesa-le-bioscope-et-audio-vitality/
- ↑ http://worldwide.espacenet.com/publicationDetails/originalDocument?FT=D&date=20071011&DB=EPODOC&locale=en_EP&CC=US&NR=2007238092A1&KC=A1&ND=5 Attention il y a 8 pages, le shéma est à la page 2
- ↑ http://www.stellinginfo.com/uploads/media/Odenth-2012_dent_dominante.pdf Sur ce document voir la photo du Bioscope
- ↑ http://www.stellinginfo.com/uploads/media/SETE_sept._2011.pdf
- ↑ https://www.rc2.vd.ch/registres/hrcintapp-pub/companyReport.action?companyOfrcId13=CH-550-1147826-3&ofrcLanguage=1 Registre du commerce du canton de Vaud. Entreprise individuelle. Date d'inscription: 20 mars 2014. Raison de Commerce: Pier Rubesa Music
- ↑ https://www.rc2.vd.ch/registres/hrcintapp-pub/companyReport.action?companyOfsUid=CHE-479.373.331 Registre du commerce du canton de Vaud. Société à responsabilité limitée. Date d'inscription: 16 septembre 2020. Société ayant pour raison sociale Promethora Sàrl
- ↑ http://maxiocio.net/ytdetail.php?id=A0J983hUqb8
- ↑ http://www.ecogenese.com/Documents/Manuel_Fontaine_Magnetique_a_Vortex_Tesla_Schauberger.pdf C'est le document le plus complet sur la fontaine magnétique publié par le site de vente de ces objets
- ↑ http://www.magnetosynergie.com/forum/viewtopic.php?f=42&t=212
- ↑ http://www.youtube.com/watch?v=AoCCyARIRUE
- ↑ http://swiss-registers.net/company_detail.aspx/STARGENIX-Sarl---Fribourg--CH21735308803-8AA9 STARGENIX Sàrl
- ↑ http://databot.ch/SONOSCOPE-SA-Fribourg-CH21735352746/publications.html (Le document n'est plus accessible)
- ↑ http://www.stellinginfo.com/index.php?id=83
- ↑ http://www.fontainemagnetique.fr/files/attachments/027_Magnetic_Fountain_Water_Report.pdf Expertise de juin 2010 au profit des fontaines magnétiques (Le document n'est plus accessible)
- ↑ http://www.webstatsdomain.com/domains/bioharmonicresearch.com/
- ↑ http://www.shabex.ch/fr/co/vitality_universe_sarl_CH-550.1.106.835-4.htm
- ↑ https://www.linkedin.com/in/bombeeck-philippe-86633939/?originalSubdomain=fr
- ↑ http://www.lefildariane.be/Centre-de-Recherche-Bioharmonique (Le document n'est plus accessible)
- ↑ http://www.lefildariane.be/-FORMATION-CONTINUE- (Le document n'est plus accessible)
- ↑ http://www.lefildariane.be/LE-BIOSCOPE (Le document n'est plus disponible)
- ↑ http://www.lefildariane.be/AUDIOVITALITY (Le document n'est plus disponible)
- ↑ http://www.itab.asso.fr/downloads/colloque-peuv/8_rubesa.pdf Voir ici "Applications dans la santé et en sciences de la vie"
- ↑ http://www.lefildariane.info/IMG/pdf/FC_ASCA-Centre_Prev-Sante_1-2.pdf Remarquons que ces informations ne sont données que sur le site belge, pas sur le site français
- ↑ http://cpsinfo.ch/activite/audiovitality/
- ↑ http://quantiqueplanete.com/wp-content/uploads/pdf/dossier_de_presse_congres_2012.pdf
- ↑ http://www.boutiquemarionkaplan.fr/
- ↑ http://quantiqueplanete.com/partenaires-du-congres/
- ↑ https://fr.wikipedia.org/wiki/Nikola_Tesla
- ↑ https://fr.wikipedia.org/wiki/Viktor_Schauberger
- ↑ https://fr.wikipedia.org/wiki/Marcel_Violet
- ↑ http://www.unice.fr/zetetique/articles/HB_Rocard.html
- ↑ http://www.fontainemagnetique.fr/fr/chercheurs/13-jacques-benvendiste/26-jacques-benveniste-et-la-memoire-electromagnetique-de-leau
- ↑ http://www.fontainemagnetique.fr/fr/chercheurs/12-masaru-emoto/30-masaru-emoto-et-les-cristaux-fluides-caches-dans-leau


