Pulsed Abnormal Glow Discharge (PAGD)-Technologie

Aus Psiram
Zur Navigation springen Zur Suche springen
Alexandra und Paulo Correa (1996)

Die von den Kanadiern Alexandra und Paulo N. Correa 1996 erfundene Pulsed Abnormal Glow Discharge (PAGD)-Technologie soll in der Lage sein, eine elektrische Energie freizusetzen, deren Betrag unter Verletzung allgemein anerkannter physikalischer Gesetzmäßigkeiten den der gleichzeitig zugeführten Energie übersteigt. Ermöglicht werden soll dies durch eine spezielle "Plasma-Röhre", bei der eine gepulste Glühentladung ablaufen soll. Die seit mindestens 15 Jahren geführten Forschungen zum Prinzip des Pulsed Abnormal Glow Discharge haben bis heute (2011) zu keinerlei praktischen Anwendungen geführt.

Die Technik wird von der Firma Labofex in Concord (Ontario, Inhaber: Correa) unter der Markenbezeichnung XS NRQTM (excess energy) vermarktet. In einer Presseerklärung verlautbarte die Labofex, dass die gemeinte Technik auf Basis eines "Law of Electrodynamics"[1] des englischen Physikers Harold Aspden funktioniere. Aspden hatte, als er an der Southampton University tätig war, im Jahre 1969 ein Prinzip "anomalen Energietransfers" genannt, das bei Plasmen zwischen schweren Ionen und Elektronen auftrete und zu einem Stromfluß führe. Aspden nahm seinerzeit an, dass in einer Vakuum-Gasentladeröhre bei angelegter elektrischer Spannung ein Strom beständig zunehmen müsse, der schließlich zur Zerstörung der Lampe führe. Entsprechende Versuche verliefen jedoch enttäuschend und konnten den Effekt nicht bestätigen.

Die Erfinder Paulo und Alexandra Correa haben auch weitere Erfindungen aus dem Energiebereich gemacht: den "Äther-Motor" und das "Hyborac"-Prinzip.

Pulsed Abnormal Glow Discharge (PAGD)-Technologie

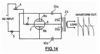
PAGD-Schaltbild
Stromverlauf bei der Entladungsröhre

Bei der PAGD-Technologie soll elektrische Energie in einer gasgefüllten Vakuum-Röhre eines "LGEN-Generators" mit einer gepulsten Glühentladung aus dem Nichts erzeugt werden. Nach Ansicht der Erfinder nutze ihr Prinzip einen angeblich stattfindenden Wechsel von negativem Widerstand und positivem "differentiellen" oder "dynamischen" Widerstand aus, der bei der als "anomal" bezeichneten Glühentladung auftreten soll. "Gezündet" wird die Entladung mit einer gepulsten Gleichspannung, die in einem getrennten Generator erzeugt wird. Pro Strompuls sollen Ströme von 150-200 A auftreten. Als Pulsfrequenz werden Werte von 1 - 10 Hz genannt. In Folge soll eine Stromerzeugung ablaufen, wobei der Output den Input um einen Faktor von mehr als 10 übertreffen soll. Der "ausgekoppelte" Strom wird gleichgerichtet und soll zum Laden von Batterien oder zum Betreiben eines Motors geeignet sein.

Die Behauptung, es handele sich bei seinem Reaktor um ein Perpetuum Mobile, weist Paulo Correa zurück. Vielmehr handele es sich um eine Anwendung eines "offenen Systems", das Energie aus dem Vakuum nutze. Hierbei beruft er sich auf den englischen Physiker und Kritiker der Relativitätstheorie Harold Aspden:

In other words, the reactor is not a perpetual motion machine in a thermodynamically closed system. It is rather an open system, open to the acive vacuum, aether, ZPF, or whatever name will be given to the energetic substrate of the universe. Dr Harold Aspden has devoted many years to the developement of an alternative physics which is relevant to Correa's invention as well as other developements of interest to IE reraders.

In der Elektrotechnik ist ein negativer Widerstand nur als eine Rechengröße bekannt. Negative Widerstände lassen sich prinzipiell nur mit aktiven (energieverbrauchenden und verlustbehafteten) elektronischen Schaltungen realisieren, welche beispielsweise aus Operationsverstärkern bestehen (z.B. als so gen. negativer Impedanzkonverter), ferner mit IMPATT-Dioden, Gunn-Dioden, Tunneldioden oder Unijunction-Transistoren. Letztere Bauteile weisen in ihren Kennlinien Bereiche auf, die einem negativen Widerstand entsprechen. Negative Widerstände sind als Rechengrößen in der Elektrotechnik somit durchaus gebräuchlich. Dies hat jedoch nichts mit einem "energieproduzierenden" "negativen Widerstand" zu tun.

Rezeption

Während die PAGD-Technik trotz der vermeintlich spektakulären Effekte in der Physik keinerlei Anerkennung oder erkennbare Beachtung gefunden hat, nahmen sich ihrer der Russe A. Chernetsky und der deutsche Allroundwissenschaftler Prof. Dr. h.c. mult. Manfred von Ardenne (1907-1997) an. Beide behaupteten, 1997 in einem Experiment eine Energievermehrung um den Faktor 1,5 bis 2 beobachtet zu haben.

Äther-Motor nach Correa

Von Correa wurde auch ein "Äther-Motor" patentiert, der seine Antriebsenergie aus einem Äther durch "resonante Faradaykäfige" und "atmosphärische Antennen" gewinnen soll.

HYBORAC energy converter

Der "HYBORAC energy converter" soll "latente Wärme" eines Faradaykäfigs in nutzbare Wärme und mechanische Energie oder elektrischen Strom umwandeln können. Die eigentliche Energie soll aus solarer oder atmosphärischer "Ätherenergie" kommen.

Paulo und Alexandra Correa

Einige Themen der "Aetherometry"-Veröffentlichungen
Thema: Kritik der Relativitätstheorie

Paulo Correa ist Biophysiker (1987) und promovierte 1991 über ein zellbiologisches Thema an der Universität Toronto. Correa ist Inhaber mehrerer Patente aus den Gebieten der Biologie, "alternativen Physik" und zu Vorrichtungen der Energieproduktion. Seine Ehefrau Alexandra Correa ist Glasbläserin und Künstlerin.

Beide betreiben oder betrieben ab 1981 ein privates "Advanced Experimental Plasma Physics Laboratory" in der Umgebung von Toronto. Ihre Studien zu alternativen Energiefragen führen sie auch unter der von ihnen erfundenen Bezeichnung "Aetherometry", die sich vom Namen her auf die "Ätherforschung" der beiden bezieht. Dabei finden sich Anknüpfungen zum Orgon-Konzept des Psychiaters Wilhelm Reich, zum schwerverständlichen und visionären Spätwerk von Nikola Tesla sowie zu Vorstellungen sowie Hypothesen der Kritiker der Relativitätstheorie und Anhänger des Äther-Konzepts. Im Rahmen ihrer Aetherometry erforschten die Correas auch Orgonakkumulatoren nach Reich sowie die Teslaspule. In ihren Forschungen wollen sie herausgefunden haben, dass der gemeinte Äther aus Partikeln bestehe. Von der Sonne gingen keine Photonen (Lichtquanten) aus, vielmehr sende die Sonne eine "electric-etheric radiation" aus, die schneller als das Licht sei. Photonen bildeten sich erst später als "Wirbel", wenn sie von Elektronen abgebremst werden.

In diesem Zusammenhang ist auch ein angeblicher "Orgon-Motor" nach Reich Thema, genauso wie ein "Äther-Motor" nach Correa. Mit einem Eugene Mallowe will Paulo Correa auch an einer an Teslas Bemühungen erinnernden "alternative solar-atmospheric power-generating technology" gearbeitet haben.

Die Correas sind auch Gründer des ABRI (Aurora Biophysics Research Institute), das sich der Forschung der Aetherometry, Gravitation, Astrophysik, einer angeblichen Klimalüge (pseudo-scientific dogma of Global Warming) und der Krebsforschung widmet. Von peer-review ungestörte Veröffentlichungen finden über einen eigenen Verlag namens "Akronos Publishing" statt.

Patente

  • US Patent 5416391, P. & A. Correa Electromechanical Transduction of Plasma Pulses
  • US Patent 5449989, P. & A. Correa Energy Conversion System
  • US Patent 5502354, P. & A. Correa Direct Current Energized Pulse Generator Utilizing Autogenous Cyclical Pulsed Abnormal Glow Discharges

Weblinks

Quellennachweise

  1. Harold Aspden: Electrodynamic Anomalies in Arc Discharge Phenomena, IEEE Transactions of Plasma Science, PS-5, 159-163 (1977)