Gleichstromadapter

Aus Psiram
Version vom 26. September 2013, 12:48 Uhr von Heimdall (Diskussion | Beiträge)
(Unterschied) ← Nächstältere Version | Aktuelle Version (Unterschied) | Nächstjüngere Version → (Unterschied)
Zur Navigation springen Zur Suche springen
Gleichstromlicht01.jpg

Gleichstromadapter ist einerseits eine von vielen Bezeichnungen für Netzteile zum Anschluss von elektronischen Geräten ans Lichtnetz, andererseits die Bezeichnung einer Vorrichtung, die auf dem Esoterikmarkt angeboten wird und dort auch Gleichstromlicht-Adapter oder Biostrom-Adapter heißt. Die Anbieter stützen sich auf die Behauptung, dass Wechselstrom "unnatürlich" sei und der Betrieb von Elektrogeräten mit Wechselstrom folglich gesundheitliche Nachteile haben müsse. Schädlich sei die Zubereitung von Speisen und Getränken mit Wechselstrom-betriebenen elektrischen Kochgeräten sowie ein Pulsieren des Lichtes von Glühlampen im Takt der Netzfrequenz. Eine ernstzunehmende Begründung, warum mit Gleichstrom gekochter Kaffee oder mit Gleichstrom gebügelte Kleidung gesunder sein soll, fehlt allerdings; die Behauptungen entspringen typisch esoterischer Gedankenführung.

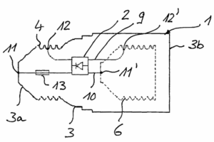
Aufbau

Aufbau eines Gleichstromlicht-Adapters[1] 2: Gleichrichter

Schaltungstechnisch handelt es sich beim Gleichstromadapter um einen einfachen Gleichrichter, der die Wechselspannung des Netzes in eine pulsierende Gleichspannung umwandelt (nicht jedoch in "echte" Gleichspannung, was üblicherweise verschwiegen wird). Es sind zwei Bauarten im Handel: Adapter zum Einschrauben in normale Glühlampenfassungen sowie Adapter für Geräte wie Wasserkocher, Toaster, Heizkissen und Bügeleisen. Daneben werden entsprechende Umbauten von Elektroherden angeboten.

Effekt des Gleichstrom-Adpters bei einer Netzspannung von 230 V. Eine etwaige Modulation der Helligkeit einer Glühlampe ist mit und ohne Adapter gleich.

Wegen der thermischen Trägheit des Glühlampenfadens ist die Modulation der Helligkeit aber nur sehr gering (anders ist das allerdings bei Leuchtstofflampen). Da der Gleichstromadapter außerdem keinen reinen Gleichstrom erzeugt – dies würde ein aufwändiges stabilisiertes Netzgerät erfordern –, sondern lediglich die negativen Halbwellen "umklappt", ändert er am Helligkeitsverlauf ohnehin nichts, da es für den Glühfaden ohne Belang ist, in welcher Richtung er vom Strom durchflossen wird. Ähnliche Verhältnisse ergeben sich z.B. bei einem Wasserkocher, dessen Heizelement überdies noch wesentlich träger ist als der Faden einer Glühlampe.

Die Adapter eignen sich nur für konventionelle Glühlampen sowie für Heizgeräte ohne Elektronik und ohne Motoren. Werden irrtümlich Leuchtstoffröhren, Energiesparlampen oder Halogenlampen mit Transformator angeschlossen, können diese Geräte dadurch zerstört werden.

Aufgrund der verwendeten Siliziumdioden zur Gleichrichtung ergibt sich ein Spannungsabfall von etwa 2 Volt, der zu einem geringen Verlust von etwa 1% der zugeführten Energie und zu einer Erwärmung des Adapters führt.

Quellennachweise

  1. Gebrauchsmusterschrift DE 20011911 U1: Leuchtenadapter. Anmelder: Flick, Wolfhart, 91207 Lauf, DE; Neumann, Gottfried, St. Stefan, AT; Neundorf, Albert, 79258 Hartheim, DE. Eintragungstag: 07.06.2001. Erloschen: 02.08.2010. Der Inhaber Wolfhart Flick bezeichnet sich als "Dipl. Lebens-Energie-Berater nach Körbler".