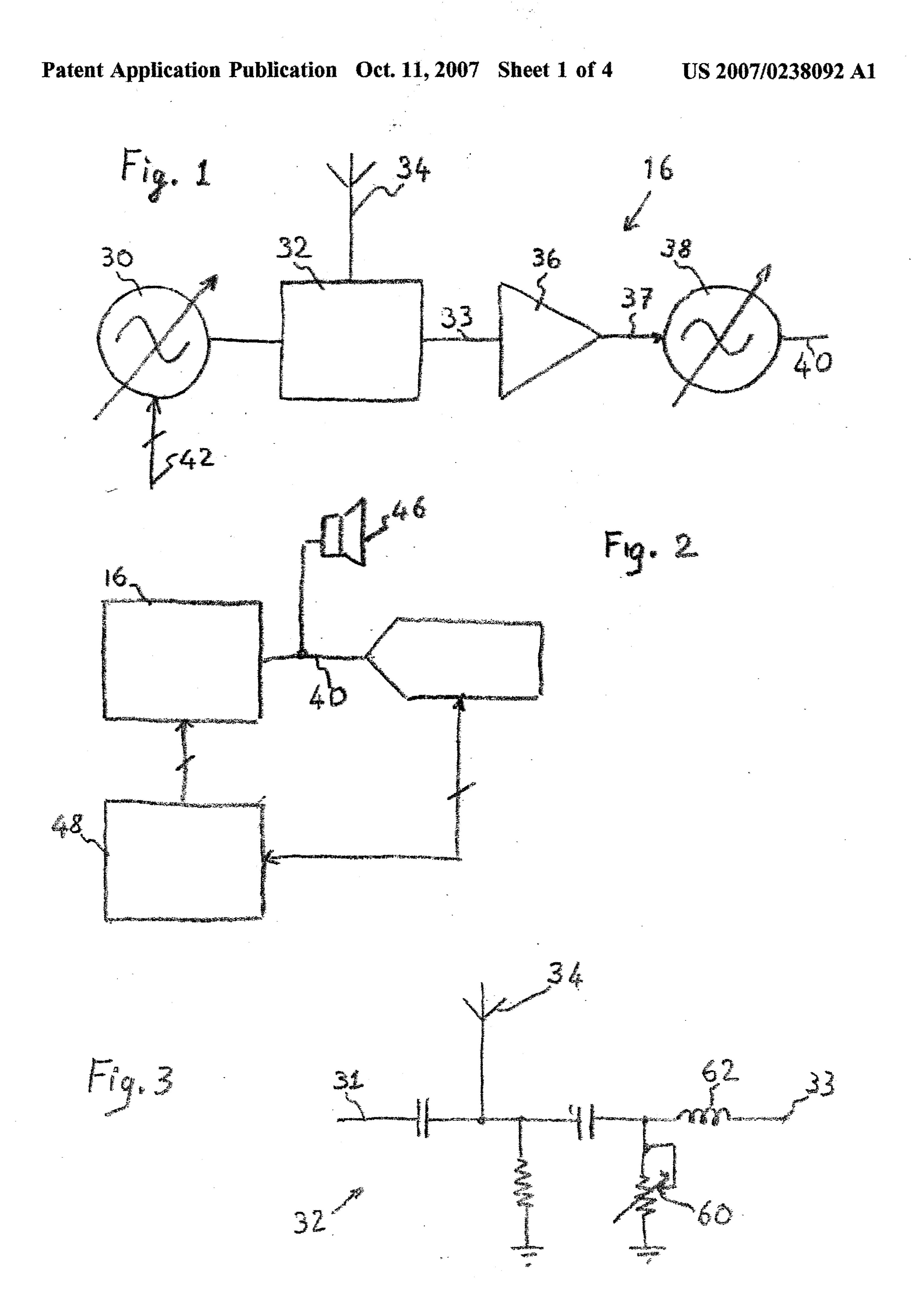
Fichier:Pier Rubesa5001.jpg
Aller à la navigation
Aller à la recherche
Pier_Rubesa5001.jpg (318 × 448 pixels, taille du fichier : 29 Kio, type MIME : image/jpeg)
Historique du fichier
Cliquer sur une date et heure pour voir le fichier tel qu'il était à ce moment-là.
| Date et heure | Vignette | Dimensions | Utilisateur | Commentaire | |
|---|---|---|---|---|---|
| actuel | 28 novembre 2012 à 17:35 | 318 × 448 (29 Kio) | Ildeverte (discussion | contributions) | ||
| 28 novembre 2012 à 17:11 | 3 057 × 4 313 (732 Kio) | Ildeverte (discussion | contributions) |
Vous ne pouvez pas remplacer ce fichier.
Utilisation du fichier
La page suivante utilise ce fichier :
