Elektrogravitation

Aus Psiram
(Weitergeleitet von Graviflight)
Zur Navigation springen Zur Suche springen
Elektrograv01.jpg

Elektrogravitation ist eine bei pseudowissenschaftlich interessierten Personen verbreitete Bezeichnung für den Biefeld-Brown-Effekt. Dieses nach den US-amerikanischen Physikern Paul Alfred Biefeld (1867 - 1940) und Thomas Townsend Brown (1905 - 1985) benannte und in den 1920er Jahren entdeckte Phänomen besagt, dass auf einen geladenen Kondensator mit ungleich großen Elektroden und mit Luft als Dielektrikum eine Kraft in Richtung der kleineren Elektrode wirkt.

Der Effekt wird wahrscheinlich von im Feld beschleunigten Ionen verursacht, ist aber noch nicht völlig verstanden.[1] Praktische Bedeutung hat er trotz gelegentlicher optimistischer Darstellungen[2] nicht erlangt, da die erreichbare Schubkraft sehr gering ist. Es lassen sich aber Flugmodelle aus leichten Materialien (Aluminiumfolie, Balsaholz usw.) damit realisieren. Die Spannungsquelle kann aus Gewichtsgründen allerdings nicht mitfliegen, sondern muss das Flugobjekt über Drähte versorgen, da Hochspannung von mehreren 10 kV zur Energieversorgung benötigt wird, was ein schweres Netzgerät erfordert. Entsprechende Modellbeschreibungen kursieren auch unter den Bezeichnungen Lifter und Graviflight.

Eine Reihe von Pseudowissenschaftlern – häufig handelt es sich dabei, wie bei der RAFÖG oder der ÖVR, um Befürworter von Raumenergie oder ähnlichen Vorstellungen – lehnt die existierenden Erklärungen zum Biefeld-Brown-Effekt ab und behauptet einen der Wissenschaft nicht bekannten Einfluss von elektrischen oder elektromagnetischen Feldern auf die Gravitation. Oft ist in dem Zusammenhang von Antigravitation die Rede, mitunter wird die angebliche Elektrogravitation auch als eigenständige Grundkraft der Physik angesehen (neben den bekannten vier Grundkräften starke Wechselwirkung, elektromagnetische Wechselwirkung, schwache Wechselwirkung und Gravitation).

Weblinks

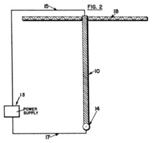
Zeichnung aus einem Patent von T.T. Brown.[3] 10: Stab aus Isoliermaterial, 14: kleine Elektrode, 18: große Elektrode. In diesem Fall wirkt die Kraft auf die Anordnung nach unten.

Quellennachweise

  1. T.B. Bader, C. Fazi (2003): Force on an Asymmetric Capacitor. U.S. Army Research Laboratory, Adelphi, MD
  2. H. Fantel (1964): Major de Seversky's Ion-Propelled Aircraft. Popular Mechanics, August 1964
  3. US Patent 3,187,206: Electrokinetic apparatus. Filed May 9, 1958