Bildquelle:[1]
IFR2.jpg

Die Interferenz-Regulationstherapie (IFR, Interferenztherapie, Interferenzstromtherapie, Interferenzstrombehandlung, Mittelfrequenztherapie, Nemec-Therapie) ist eine pseudomedizinische elektromedizinische Methode, die zur Behandlung von Allergien, Asthma bronchiale, atopischer Dermatitis ("Neurodermitis") und vielen anderen Zuständen eingesetzt wird. Letztendlich sollen alle mögliche Krankheitsbilder, bis auf Infektionskrankheiten, günstig beeinflussbar sein.

Durchgeführt wird die Methode entweder ambulant, z.B. in Physiotherapiepraxen, oder als Heimanwendung, auch begleitend beim Fernsehen oder Lesen. Als Ansprechpartner für Interessierte tritt u.a. eine Europäische Gesellschaft Rehabilitation e.V. auf.[2]

Da eine Wirksamkeit der Methode wissenschaftlich nicht belegt ist[3][4], werden die Kosten nicht von den gesetzlichen Krankenkassen übernommen. Bei chronischen Rückenschmerzen wird die Methode in den Europäischen Leitlinien für den Umgang mit unspezifischen Kreuzschmerzen[5] ausdrücklich nicht empfohlen.

Die versprochenen Wunderwirkungen bei einer großen Zahl unterschiedlichster Krankheiten und die angebliche völlige Nebenwirkungsfreiheit sind nach den Zehn Indizien für Quacksalberei deutliche Hinweise für eine tatsächliche Wirkungslosigkeit.

Hinweis: Die hier thematisierte Interferenztherapie ist nicht mit der "bakteriellen Interferenztherapie" zu verwechseln.

Methode

 
IFR-Gerät "Ergodyn 2000"

Anbieter des Verfahrens glauben, dass Krankheiten in einem kausalen Zusammenhang mit einer "gestörten Bioelektrizität" stehen, die mit der IFR behandelbar seien. Ziel sei es, "biologische Regelkreise" elektrisch zu "harmonisieren". Befürworter und Anbieter des für die IFR erforderlichen Instrumentariums behaupten eine "rein energetische, unstoffliche Behandlungsform", bei der "keine Substanzen zugeführt" werden, und die "völlig frei von unerwünschten Nebenwirkungen" sei. Da keine zusätzlichen Substanzen zugeführt werden, seien weitere Allergien ausgeschlossen.

Zur Anwendung kommen bei der Interferenzstrom-Regulationstherapie "mittelfrequente" Wechselströme, die über 2-4 großflächige Hautelektroden appliziert werden, mit Stromstärken im mA-Bereich. Die Anwendungsdauer soll zwischen 5 Minuten und einer Stunde liegen. Die (meistens zwei) von außen zugeführten Ströme haben leicht unterschiedliche Frequenzen und sollen sich im Körper auf nicht näher erklärte Weise "überlagern", was zu therapeutisch erwünschten Interferenzphänomenen führen soll. Wichtig sei, dass bei vier Elektroden jeder der beiden Ausgänge des Gerätes mit über Kreuz liegenden Elektroden verbunden wird.

In verwirrender Weise wird auch darauf hingewiesen, dass einige Geräte bereits "überlagerte" Ströme am Ausgang zur Verfügung stellen. Solch ein Gerät liefert am Ausgang ein amplitudenmoduliertes, d.h. pulsierendes Signal (eine sogenannte Schwebung), dessen Modulationsfrequenz gleich der Differenzfrequenz der beiden Wechselströme ist.

Die eingesetzten "Mittelfrequenzen" liegen typischerweise im Bereich von 4.000 Hz, mit Abständen von einigen Hz bis etwa 200 Hz. Beträgt beispielsweise die eine Frequenz 3900 Hz und die andere 4.000 Hz, so beträgt die "Interferenzfrequenz" 100 Hz. Mit dieser Frequenz von 100 Hz ergebe sich ein heilender Effekt, weil sie angeblich einer – der Wissenschaft bislang unbekannten – "Eigenschwingung der Körperzellen" entspreche. Sämtliche erfassten Zellen zeigten dadurch Resonanzphänomene und sollten in ihrer Funktion "optimiert" werden.

 
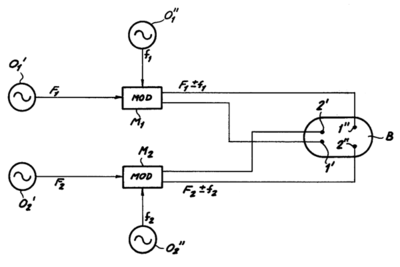
IFR-Variante mit zwei Signalen mit den Frequenzen F1 und F2, die mit f1 und f2 amplitudenmoduliert sind.[6] Als Beispiel werden F1 = 4020 Hz, F2 = 4000 Hz, f1 = 70 Hz und f2 = 89 Hz genannt. B stellt den Körper mit den vier Elektroden dar.

Die Schwachströme sollen dabei eine zellregulierende "Wirksamkeit" besitzen sowie Zellstimulation, Zellreaktivierung und Zellregeneration bewirken. Bei Asthma komme es zu einer sofortigen Atemerleichterung und Beendigung der Hypereagibilität der betroffenen Bronchien. Kinder mit Neurodermitis würden unter der IFR-Therapie innerhalb "kürzester Zeit" von ihren Juckattacken befreit. Auch komme es zu einer Entgiftung der Leber und Nieren. "Komatöse Zellen" würden reaktiviert und "insuffiziente Strukturen" normalisiert, heißt es auch.

Erfinder Nemec

Als Urheber der Methode wird der österreichische Physiker Hans Nemec (1907-1981) genannt, der sie in den 1940er Jahren erfand. Neben der ursprünglichen Form mit zwei Wechselströmen, deren Frequenz sich um einige 10 Hz unterscheidet, nutzte Nemec später auch Anordnungen mit drei statt zwei Oszillatoren[7], ferner solche, bei denen zwei Wechselströme um 4000 Hz mit jeweils einigen 10 Hz amplitudenmoduliert sind (Bild rechts)[6] und der Ausgang eines solchen Gerätes ein Signalgemisch aus insgesamt sechs Summen- und Differenzfrequenzen liefert.

Analoge Verfahren

Ein sehr ähnliches Verfahren wird unter dem Namen HOLISTIM vermarktet (früher HERMICON). Es geht auf den Elektroingenieur Erhard Schöndorf zurück und arbeitet mit den Frequenzen 3.940 Hz und 4.000 Hz, die bereits im Gerät zusammengeführt werden ("Schöndorfstrom" genannt).[8] Eine von Schöndorfs Patentanmeldungen[9] umfasste außerdem einen Behandlungsstuhl mit einer größeren Zahl (9-24) eingebauter Elektroden. Dieser Ansatz wurde aber offenbar nicht weiter verfolgt. Der Hersteller gibt an, dass Schöndorf mit einem Dr. Polster zusammengearbeitet habe, der medizinischer Berater von Hans Nemec gewesen sei. Beim Holistim-Gerät wird das Ausgangssignal ebenfalls zusätzlich amplitudenmoduliert; die sehr niedrige Modulationsfrequenz von maximal 1 Hz wird als "Rhythmus" bezeichnet. Das Gerät soll eine Ausgangsspannung von 40 V haben.[10] Ein von der Funktion her gleiches Gerät wird auch von Schöndorf selbst vertrieben (Bild rechts).

Bei "Rücken- und Nackenbeschwerden, Sportverletzungen, Abnützungen an den Gelenken, kann der Gesundungsverlauf durch die Holistim-Therapie effektiver beschleunigt werden, als bei vergleichbaren Behandlungsmethoden", so die Werbung des Herstellers, der das Gerät außerdem Spitzensportlern zur Anwendung nach dem Training "zur gezielten schnelleren Erholung der trainierten Muskeln" empfiehlt.

Als Hochtontherapie nach May (Hochton-Frequenz-Therapie, oder kurz Hochton-Therapie) wird ein Verfahren bezeichnet, bei dem über verschiedene (in der Regel vier Kanäle mit mindestens zehn Elektroden) Stromkreise dem menschlichen Körper zu therapeutischen Zwecken geringe und gleichzeitig amplitudenmodulierte und frequenzmodulierte Ströme zugeführt werden. Eingesetzt werden dabei Frequenzen im Bereich zwischen 4096 bis 32768 Hertz und Stromstärken von wenigen Milliampere. Die Gesamtleistung soll bis zu 5 Watt betragen. Zweck soll es sein, "Gewebsstrukturen" und Zellen "in Schwingungen" zu versetzen und auf diese Weise den Stoffwechsel anzuregen sowie den Körper zu entschlacken. Therapeutisches Ziel sei es auch, eine Zunahme der Anzahl und des Volumens von Mitochondrien zu erreichen. Unterschiedliche Frequenzen sollen nach Vorstellungen der Erfinder dabei auch spezifisch und harmonisch "Strukturen unterschiedlicher Größe anregen".

Literatur

  • Nemec H: Der interfero-dynamische Strom in der komplexen Interferenz-Therapie, Physiotherapy, 1973
  • Nemec H: Endogenous electrostimulation with middle frequencies and interference zones. Rehabilitation (Bonn). 1967;20(1):1-11. PMID: 5613875

Weblinks

Siehe auch

Quellennachweise

  1. http://www.gesundheitspraxis-griener.de
  2. Europäische Gesellschaft Rehabilitation e.V., Hafelsstr. 61, 47807 Krefeld
  3. Jorge P. Fuentes, Susan Armijo Olivo, David J. Magee, Douglas P. Gross, Effectiveness of Interferential Current Therapy in the Management of Musculoskeletal Pain: A Systematic Review and Meta-Analysis, Physical Therapy, Volume 90, Issue 9, 1 September 2010, Pages 1219–1238, https://doi.org/10.2522/ptj.20090335
  4. van der Heijden GJMG, Leffers P, Wolters PJMC, et al: No effect of bipolar interferential electrotherapy and pulsed ultrasound for soft tissue shoulder disorders: a randomised controlled trial Annals of the Rheumatic Diseases 1999;58:530-540. https://doi.org/10.1136/ard.58.9.530
  5. Becker A et al.: Europäische Leitlinien für den Umgang mit unspezifischen Kreuzschmerzen. online (PDF), abgerufen am 10. Februar 2012
  6. 6,0 6,1 US Patent 4,153,061: Electrotherapeutic apparatus. May 8, 1979
  7. US Patent 4,023,574: Electrostimulation method and apparatus. May 17, 1977
  8. Europäisches Patent EP 0612259: Elektrotherapie-Gerät. 06.10.1994
  9. Offenlegungsschrift DE 4313236 A1: Elektrotherapiegerät. 27.10.1994
  10. http://www.holistim.com/index.php?id=236 Aufruf am 20. Februar 2010