Werner Kropp: Unterschied zwischen den Versionen
| Zeile 1: | Zeile 1: | ||
[[image:Werner_Kropp.jpg|Werner Kropp|thumb]] | [[image:Werner_Kropp.jpg|Werner Kropp|thumb]] | ||
| − | |||
'''Werner Kropp''' (gest. 5. Februar 1995) war ein deutscher Erfinder und Unternehmer der Wekroma-Firmengruppe. Kropp glaubte an die Existenz einer wissenschaftlich unbekannten so genannten "dritten Kraft" (oder "Feldkraft" oder "Interferenzenergie"), die von statischen Magnetfeldern sowie von magnetischen Wechselfeldern ausgehen soll. In diesem Zusammenhang sprach Kropp auch von einer "Energetischen Interferenz Resonanz Technologie" (ERIT). Mit Hilfe dieses hypothetischen Effekts glaubte er, "permanente Informationsübertragungen" auf Gegenstände und Wasser realisieren zu können, die die Basis seiner Wekroma-Produkte sind. Er behauptete, "Schadinformationen" durch seine Produkte "neutralisieren" zu können, indem er "Interferenzenergien" einsetze. Kropp war zeitlebens auf der Suche nach den Maxwell´schen Gleichungen "übergeordneten Vektorpotential-Feldern", die er bescheiden "K-Feld" nannte. | '''Werner Kropp''' (gest. 5. Februar 1995) war ein deutscher Erfinder und Unternehmer der Wekroma-Firmengruppe. Kropp glaubte an die Existenz einer wissenschaftlich unbekannten so genannten "dritten Kraft" (oder "Feldkraft" oder "Interferenzenergie"), die von statischen Magnetfeldern sowie von magnetischen Wechselfeldern ausgehen soll. In diesem Zusammenhang sprach Kropp auch von einer "Energetischen Interferenz Resonanz Technologie" (ERIT). Mit Hilfe dieses hypothetischen Effekts glaubte er, "permanente Informationsübertragungen" auf Gegenstände und Wasser realisieren zu können, die die Basis seiner Wekroma-Produkte sind. Er behauptete, "Schadinformationen" durch seine Produkte "neutralisieren" zu können, indem er "Interferenzenergien" einsetze. Kropp war zeitlebens auf der Suche nach den Maxwell´schen Gleichungen "übergeordneten Vektorpotential-Feldern", die er bescheiden "K-Feld" nannte. | ||
==Allgemeines== | ==Allgemeines== | ||
| + | [[image:Kropp2.jpg|werloses, käuflich erwerbbares [[Vanity-Award]] "Marquis Who is Who" für jedermann|thumb]] | ||
Offenbar basieren Kropps Hypothesen zu einer elektromagnetischen Informationsübertragung auf [[pseudowissenschaft]]lichen Annahmen der Ärzte Joachim Prinz und Walther Gohrenflos aus den 1970er Jahren. Diese vermuteten die Existenz von "Vektorpotentialen", die dann entstehen sollen, wenn zwei Magnetfelder sich so überlagern, dass ein "Nullfeld" erscheine. In diesem Nullfeld soll es möglich sein, Informationen beliebiger Art auf ein Trägermaterial zu übertragen. Häufig scheint Kropp physiologische Kochsalzlösung dazu verwendet zu haben. Ähnliche Versuche wurden auch von Cyril W. Smith, Mae-Wan Ho und Roger Taylor und [[Glen Rein]] durchgeführt. | Offenbar basieren Kropps Hypothesen zu einer elektromagnetischen Informationsübertragung auf [[pseudowissenschaft]]lichen Annahmen der Ärzte Joachim Prinz und Walther Gohrenflos aus den 1970er Jahren. Diese vermuteten die Existenz von "Vektorpotentialen", die dann entstehen sollen, wenn zwei Magnetfelder sich so überlagern, dass ein "Nullfeld" erscheine. In diesem Nullfeld soll es möglich sein, Informationen beliebiger Art auf ein Trägermaterial zu übertragen. Häufig scheint Kropp physiologische Kochsalzlösung dazu verwendet zu haben. Ähnliche Versuche wurden auch von Cyril W. Smith, Mae-Wan Ho und Roger Taylor und [[Glen Rein]] durchgeführt. | ||
| Zeile 23: | Zeile 23: | ||
* AKW.ST, ein Produkt zur vermeintlichen Unschädlichmachung ionisierender Strahlung und radioaktiver Gegenstände | * AKW.ST, ein Produkt zur vermeintlichen Unschädlichmachung ionisierender Strahlung und radioaktiver Gegenstände | ||
| − | + | Um die Wirkung von Wekroma-Produkten glaubhaft zu machen, wird in der Werbung auf "Vergleichsstudien" mit Hilfe einer "Blutkristallisation"-Methode verwiesen. Diese Studien werden jedoch nicht benannt, scheinen unveröffentlicht und sind somit wissenschaftlich wertlos. Des Weiteren wird behauptet, dass eine Wirkung der Produkte durch [[Kinesiologie]], [[Akupunktur]], [[Radiästhesie]] und [[Aura|"Aura-Messungen"]] erwiesen sei. Dabei wird verschwiegen, dass keine der genannten Methoden eine seriös zu nennende Nachweismethode darstellt. | |
Nach Angaben von [[Marco Bischof]], der sich als [[Esoterik]]er mit den Wekroma-Produkten befasste, seien diese auch zur Behandlung schwerer Krankheiten am Menschen erprobt worden. Dies allerdings ohne jegliche vorherige Hinweise auf eine etwaige Wirksamkeit. Als behandelte Krankheiten gibt Bischof unter anderem Melanome, Toxoplasmose, Lepra und die Drogenabhängigkeit an.<ref>http://www.scribd.com/doc/36670260/Bischof-Marco-Tachyonen-Orgonenergie-Skalarwellen-2002</ref> Auch der Chemiker [[Walter Medinger]], der mit seiner Firma [[IIREC]] als Gutachter für dubiose Produkte tätig ist, hat eine positive Beurteilung zu Wekroma-Produkten abgegeben. "Ohne Zweifel", so Medinger, sei "das Wekroma-Verfahren eine äußerst wirksame Methode zur Beeinflussung der nicht chemischen Eigenschaften des Wassers".<ref>[http://www.nie-mehr-rueckenschmerzen.info/index.php?option=com_content&task=view&id=10&Itemid=4 www.nie-mehr-rueckenschmerzen.info, abgerufen am 27. Dezember 2011]</ref> | Nach Angaben von [[Marco Bischof]], der sich als [[Esoterik]]er mit den Wekroma-Produkten befasste, seien diese auch zur Behandlung schwerer Krankheiten am Menschen erprobt worden. Dies allerdings ohne jegliche vorherige Hinweise auf eine etwaige Wirksamkeit. Als behandelte Krankheiten gibt Bischof unter anderem Melanome, Toxoplasmose, Lepra und die Drogenabhängigkeit an.<ref>http://www.scribd.com/doc/36670260/Bischof-Marco-Tachyonen-Orgonenergie-Skalarwellen-2002</ref> Auch der Chemiker [[Walter Medinger]], der mit seiner Firma [[IIREC]] als Gutachter für dubiose Produkte tätig ist, hat eine positive Beurteilung zu Wekroma-Produkten abgegeben. "Ohne Zweifel", so Medinger, sei "das Wekroma-Verfahren eine äußerst wirksame Methode zur Beeinflussung der nicht chemischen Eigenschaften des Wassers".<ref>[http://www.nie-mehr-rueckenschmerzen.info/index.php?option=com_content&task=view&id=10&Itemid=4 www.nie-mehr-rueckenschmerzen.info, abgerufen am 27. Dezember 2011]</ref> | ||
| − | == Patentanmeldungen== | + | ==Patentanmeldungen== |
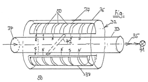
| + | [[image:WernerKropp4036648.png|thumb|300px|Patentierte Vorrichtung (DE 4036648) mit Streifen aus magnetischer Folie (50), die um ein Rohr (34) herum angebracht sind. Nach Kropps Erklärung sollen die Magnete die Flüssigkeit im Rohr "biologisch günstig" beeinflussen.]] | ||
Kropp hat eine Reihe von Erfindungen publiziert. Bei den meisten geht es darum, dass Flüssigkeiten und Gase seiner Ansicht nach durch magnetische und elektrostatische Felder "eine Gefügestrukturierung erfahren" könnten und sich so "biologisch günstig beeinflussen" ließen. Auch eine [[Transmutation]] von chemischen Elementen hielt er auf diese Weise für möglich. Die im Folgenden genannten Patente und Patentanmeldungen sind allesamt erloschen. Einige seiner Erfindungen hat Kropp außer in Deutschland auch in Australien, Brasilien, Finnland, Frankreich, Großbritannien, Japan, Kanada, Norwegen, Russland, Ungarn und USA zum Patent angemeldet; diese sind hier nicht extra aufgeführt. | Kropp hat eine Reihe von Erfindungen publiziert. Bei den meisten geht es darum, dass Flüssigkeiten und Gase seiner Ansicht nach durch magnetische und elektrostatische Felder "eine Gefügestrukturierung erfahren" könnten und sich so "biologisch günstig beeinflussen" ließen. Auch eine [[Transmutation]] von chemischen Elementen hielt er auf diese Weise für möglich. Die im Folgenden genannten Patente und Patentanmeldungen sind allesamt erloschen. Einige seiner Erfindungen hat Kropp außer in Deutschland auch in Australien, Brasilien, Finnland, Frankreich, Großbritannien, Japan, Kanada, Norwegen, Russland, Ungarn und USA zum Patent angemeldet; diese sind hier nicht extra aufgeführt. | ||
Version vom 29. Dezember 2011, 11:52 Uhr
Werner Kropp (gest. 5. Februar 1995) war ein deutscher Erfinder und Unternehmer der Wekroma-Firmengruppe. Kropp glaubte an die Existenz einer wissenschaftlich unbekannten so genannten "dritten Kraft" (oder "Feldkraft" oder "Interferenzenergie"), die von statischen Magnetfeldern sowie von magnetischen Wechselfeldern ausgehen soll. In diesem Zusammenhang sprach Kropp auch von einer "Energetischen Interferenz Resonanz Technologie" (ERIT). Mit Hilfe dieses hypothetischen Effekts glaubte er, "permanente Informationsübertragungen" auf Gegenstände und Wasser realisieren zu können, die die Basis seiner Wekroma-Produkte sind. Er behauptete, "Schadinformationen" durch seine Produkte "neutralisieren" zu können, indem er "Interferenzenergien" einsetze. Kropp war zeitlebens auf der Suche nach den Maxwell´schen Gleichungen "übergeordneten Vektorpotential-Feldern", die er bescheiden "K-Feld" nannte.
Allgemeines
Offenbar basieren Kropps Hypothesen zu einer elektromagnetischen Informationsübertragung auf pseudowissenschaftlichen Annahmen der Ärzte Joachim Prinz und Walther Gohrenflos aus den 1970er Jahren. Diese vermuteten die Existenz von "Vektorpotentialen", die dann entstehen sollen, wenn zwei Magnetfelder sich so überlagern, dass ein "Nullfeld" erscheine. In diesem Nullfeld soll es möglich sein, Informationen beliebiger Art auf ein Trägermaterial zu übertragen. Häufig scheint Kropp physiologische Kochsalzlösung dazu verwendet zu haben. Ähnliche Versuche wurden auch von Cyril W. Smith, Mae-Wan Ho und Roger Taylor und Glen Rein durchgeführt.
Zu Kropp selbst sind im Internet keine seriös zu nennenden Angaben auffindbar. Lediglich in diversen Webshops finden sich Angaben, nach denen er Physiker gewesen sein soll. Auch wird er als Dr. und Prof. tituliert. Wissenschaftliche Veröffentlichungen eines Physikers mit Namen Werner Kropp sind jedoch nicht in Datenbanken auffindbar. Zur Aufwertung der Person werden Angaben um einen angeblichen Vorschlag zur Erteilung des Nobelpreises verbreitet. Allerdings kann jede Person von jedermann zum Nobelpreis vorgeschlagen werden. Derartige Angaben sind genauso wertlos wie die zu Kropp bekannten gekauften Vanity-Awards zum "Marquis Who is Who".
Wekroma
Nach seinem Tode werden weiterhin Produkte unter dem Markenzeichen Wekroma angeboten, das als Abkürzung für "WERNER KROPP MEDIZIN ALTERNATIV" stehen soll. Die aktuelle Firma Wekroma firmiert international verschachtelt in London[1] und Vaduz (Liechtenstein). Der Firmensitz soll in London sein, während die Administration von Liechtenstein aus erfolgen soll[2]. Des weiteren sollen Forschungslaboratorien in Brione (Steueroase Campione) existieren. Der Vertrieb erfolgt von der Schweiz[3], Deutschland[4][5] und Österreich[6].
Produkte sind unter anderem:
- Wekroma-Öl "Gold 144"
- Wekroma-Öl "Silver 783"
- Wekroma Basenmischung
- Wekroma Aquator und Wekroma Bio Transer zur "Wasserbelebung"
- Wekroma Handychip
- Wekroma Energie-Schutz-Stecker und -Schutzdose zum vermeintlichen Schutz vor Elektrosmog
- AKW.ST, ein Produkt zur vermeintlichen Unschädlichmachung ionisierender Strahlung und radioaktiver Gegenstände
Um die Wirkung von Wekroma-Produkten glaubhaft zu machen, wird in der Werbung auf "Vergleichsstudien" mit Hilfe einer "Blutkristallisation"-Methode verwiesen. Diese Studien werden jedoch nicht benannt, scheinen unveröffentlicht und sind somit wissenschaftlich wertlos. Des Weiteren wird behauptet, dass eine Wirkung der Produkte durch Kinesiologie, Akupunktur, Radiästhesie und "Aura-Messungen" erwiesen sei. Dabei wird verschwiegen, dass keine der genannten Methoden eine seriös zu nennende Nachweismethode darstellt.
Nach Angaben von Marco Bischof, der sich als Esoteriker mit den Wekroma-Produkten befasste, seien diese auch zur Behandlung schwerer Krankheiten am Menschen erprobt worden. Dies allerdings ohne jegliche vorherige Hinweise auf eine etwaige Wirksamkeit. Als behandelte Krankheiten gibt Bischof unter anderem Melanome, Toxoplasmose, Lepra und die Drogenabhängigkeit an.[7] Auch der Chemiker Walter Medinger, der mit seiner Firma IIREC als Gutachter für dubiose Produkte tätig ist, hat eine positive Beurteilung zu Wekroma-Produkten abgegeben. "Ohne Zweifel", so Medinger, sei "das Wekroma-Verfahren eine äußerst wirksame Methode zur Beeinflussung der nicht chemischen Eigenschaften des Wassers".[8]
Patentanmeldungen
Kropp hat eine Reihe von Erfindungen publiziert. Bei den meisten geht es darum, dass Flüssigkeiten und Gase seiner Ansicht nach durch magnetische und elektrostatische Felder "eine Gefügestrukturierung erfahren" könnten und sich so "biologisch günstig beeinflussen" ließen. Auch eine Transmutation von chemischen Elementen hielt er auf diese Weise für möglich. Die im Folgenden genannten Patente und Patentanmeldungen sind allesamt erloschen. Einige seiner Erfindungen hat Kropp außer in Deutschland auch in Australien, Brasilien, Finnland, Frankreich, Großbritannien, Japan, Kanada, Norwegen, Russland, Ungarn und USA zum Patent angemeldet; diese sind hier nicht extra aufgeführt.
- DE 4329329 A1: Verfahren und Vorrichtung zur Intensivierung der Vermischung mehrerer gasförmiger und/oder flüssiger Medien und/oder auch pulverartiger bzw. feinkörniger Stoffe in Verbindung mit diesen Medien. Anmeldedatum: 31.08.1993. Zurückgewiesen: 18.02.2005.
- DE 4318238 A1: Verfahren und Verpackung zum Konditionieren von Pflanzen, insbesondere Bäumen (Method and packaging for conditioning plants, in particular trees). Anmeldedatum: 01.06.1993. Die Erfindung betrifft ein Verfahren zum Konditionieren von Pflanzen, insbesondere von Bäumen, und ist dadurch gekennzeichnet, daß ein Substrat mit insbesondere homöopathischer Wirkung und/oder mit physikalisch energetischer Wirkstoff-Informationsprägung beispielsweise in Form einer Flüssigkeit in biologisch aktive Bereiche des Baumes eingebracht wird.
- DE 4234502 A1: Verwendung eines Verfahrens und einer Vorrichtung zur Beeinflussung chemischer Verbindungen sowie zur Erzeugung von Transmutationen chemischer bzw. atomarer Elemente (Use of electromagnetic energy in magnetic field region). Anmeldedatum: 13.10.1992. Zurückgewiesen: 04.03.2003. Verwendung eines Verfahrens und einer Vorrichtung bei dem bzw. mit dem durch Einwirkung von elektromagnetischen Wirkenergien bestimmter Frequenzen innerhalb von mit gegeneinander oder zueinander gerichteten Magnetfeldern beaufschlagten Raumbereichen chemische Verbindungen (hetero- und homöopolare auch anorganische und organische) in ihrer Zusammensetzung bzw. ihrem Aufbau beeinflußt werden.
- DE 4036648 B4: Vorrichtung zur Beeinflussung von Flüssigkeiten durch Magnetfelder. Anmeldedatum: 16.11.1990. Patent erteilt: 07.07.2005. Patent erloschen: 03.06.2009
- DE 3741949 A1: Bioenergetisch wirksame Anordnung (Arrangement with bioenergetic activity). Anmeldedatum: 10.12.1987. Anmeldung zurückgenommen: 13.12.1994. Zur zuverlässigen und über längere Zeit und reproduzierbar wiederholten sowie bequemen Einflußnahme durch bioenergetisch wirksame Substrate verschiedener Art auf die bioenergetisch beeinflußbaren Punkte bzw. Bereiche auf der Körperoberfläche von Lebewesen, insbesondere Menschen und Tieren, ist erfindungsgemäß die Anbringung der Substrate an die Lebewesen umgebende Gegenstände, z.B. Kleidung, vorgesehen.
- DE 2952592 A1: Herstellung von Arzneimitteln und von Mitteln zur Unschädlichmachung von Mikroorganismen. Anmeldedatum: 28.12.1979. Zurückgewiesen: 25.09.1982
- EP 429988 A1:Verwendung von insbesondere magnetischen Vektorpotentialen zur Behandlung von Materialien (Use of particular magnetic vector potentials for treating materials). Anmeldedatum: 16.11.1990. Die Erfindung betrifft die Verwendung von Wechselwirkungen mit Vektorpotentialen, insbesondere des magnetischen Vektorpotentials vorzugsweise im magnetfeldfreien Raum für die gezielte Übertragung von vorbestimmten Wirkkraft-Organisations- bzw. Orientierungsmustern auf Substrate, insbesondere speziell Substate mit Wassereigenschaften und damit verwirklichte Substrate, sowie ein Verfahren und eine Vorrichtung zum praktischen Einsatz dieser Verwendung.
- EP 249004 B1: Verfahren und Vorrichtung zur Herstellung eines Substrat mit einer energetischen Wirkladung (Process and apparatus for the production of a substrate having an energizing active charge). Anmeldedatum: 10.04.1987. Patent erteilt: 19.07.1995
Weblinks
Quellennachweise
- ↑ WEKROMA (UK) Ltd. Harmonology Center, Horst Vallant, Culbockie by Dingwall IV 7 8 JH Ross-shire Scotland
- ↑ WEKROMA Administration, Postfach 470, Aeulestrasse 5, FL - 9490 Vaduz
- ↑ WEKROMA - Vertrieb, Beat Lanz, Postfach 442 - Brettigen, CH - 6313 Menzingen
- ↑ WEKROMA Bioenergetische Produkte Vertriebs GmbH, Postfach 1325, D - 83203 Prien
- ↑ WEKROMA, Grüngärtenweg 11, D - 79206 Breisach / Rh.
- ↑ AAYAA Logistikcenter, In der Au 33, A - 4866 Unterach
- ↑ http://www.scribd.com/doc/36670260/Bischof-Marco-Tachyonen-Orgonenergie-Skalarwellen-2002
- ↑ www.nie-mehr-rueckenschmerzen.info, abgerufen am 27. Dezember 2011
